lemon-mirror:
Home >> Saturn >> 2004 >> VUE AWD L4-2.2L VIN D >> Repair and Diagnosis >> Diagrams >> Exploded Views >> Automatic Transmission/Transaxle >> Internal Components

Internal Components



Internal Components

Output Shaft Components:





Output Shaft Components

500 - 3rd/4th Driven Gear
501 - 3rd/4th Driven Gear Selective Spacer - 52 mm
502 - 3rd/4th Driven Gear Retainer Ring - 39 mm
503 - 3rd/4th Driven Gear Retainer Ring Cap
504 - 3rd/4th Driven Gear Retainer Ring Cap Retainer Ring
505 - 5th Driven Gear Spacer - 35 x 47 x 6 mm
506 - 5th Driven Gear Inner Bearing - 35 x 21 x 46 mm
507 - 5th Driven Gear
508 - 5th/Reverse Synchronizer Ring
509 - 5th/Reverse Synchronizer Hub
510 - Reverse Driven Gear Inner Bearing Race - 31 x 40 x 14.5 mm
511 - Reverse Drive Gear Inner Bearing - 40 x 46 x 14.5 mm
512 - Reverse Driven Gear
513 - Output Shaft Retainer Ring - 93 mm
514 - Output Shaft Rear Bearing - 31 x 93 x 19 mm
515 - Output Shaft Washer - 24 mm
516 - Output Shaft Retainer Nut - 24 mm
517 - 1st Driven Gear
518 - 1st Driven Gear Selective Spacer - 56 mm
519 - 1st/2nd Idler Gear End Bearing - 56 x 87.5 x 5.5 mm
520 - 1st/2nd Idler Gear
521 - 1st/2nd Idler Gear Inner Bearing - 57 x 65 x 28.7 mm
522 - 1st/2nd Idler Gear End Bearing - 65 x 83 x 4.5 mm
523 - 2nd Driven Gear
524 - Output Shaft
525 - Reverse Idler Gear Retainer Ring - 14 mm
526 - Reverse Idler Gear Washer - 14 x 30 x 1 mm
526 - Reverse Idler Gear Washer - 14 x 30 x 1 mm
527 - Reverse Idler Gear
528 - Reverse Idler Gear Inner Bearing - 14 x 18 x 15 mm
530 - Reverse Idler Gear Retaining Plate Sleeve - 10 x 16 mm
531 - Reverse Idler Gear Retainer Plate
532 - Reverse Idler Gear Retainer Plate Bolt - M8 x 1.0 x 35 mm
533 - Reverse Idler Gear Assembly

Mainshaft Components:





Mainshaft Components

600 - Mainshaft Front Bearing Retainer Ring - 23 mm
601 - Mainshaft Front Bearing - 23 x 31 x 21.8 mm
602 - Mainshaft Fluid Passage Seal - 31 mm
603 - Mainshaft
604 - 4th /5th Reverse Clutch Housing Fluid passage O-ring Seal - 33 x 1.9 mm
605 - 4th Drive Gear and Hub Bearing Retainer Ring - 81 mm
606 - 4th Drive Gear and Clutch Hub Bearing - 38 x 78 x 37/27 mm
607 - 4th Drive with Clutch Hub Gear
608 - 4th Clutch Backing Plate Retainer Ring - 137 mm
609 - 4th Clutch Selective Backing Plate
610 - 4th Clutch Fiber Plate Assembly
611 - 4th Clutch Steel Plate
612 - 4th Clutch Piston Retainer Ring - 44 mm
613 - 4th Clutch Piston Retainer Cap
614 - 4th Clutch Piston Return Spring
615 - 4th Clutch Spring Plate
616 - 4th Clutch Piston
617 - 4th Clutch Piston Outer Seal - 119.1 x 2.3 mm
618 - 4th Clutch Piston Inner Seal - 44.1 x 2.2 mm
619 - 5th/Reverse Drive Gear and Clutch Hub End Bearing - 40 x 53 x 2.5 mm
620 - 5th/Reverse Drive Gear with Clutch Hub Gear
621 - 5th/Reverse Drive Gear and Clutch Hub Inner Bearing - 40 x 46 x 34 mm
622 - 5th/Reverse Drive Gear and Clutch Hub End Bearing - 40 x 59 x 3 mm
623 - 5th/Reverse Drive Gear and Clutch Hub Bearing Race - 33 x 40 x 48.7 mm
624 - 5th/Reverse Clutch Backing Plate Retainer Ring - 137 mm
625 - 5th/Reverse Clutch Selective Backing Plate
626 - 5th/Reverse Clutch Fiber Plate Assembly
627 - 5th/Reverse Clutch Steel Plate
628 - 5th/Reverse Clutch Piston Retainer Ring - 44 mm
629 - 5th/Reverse Clutch Piston Retainer Cap
630 - 5th/Reverse Clutch Piston Return Spring
631 - 5th/Reverse Clutch Spring Plate
632 - 5th/Reverse Clutch Piston Assembly
633 - 5th/Reverse Clutch Piston Outer Seal - 119.1 x 2.3 mm
634 - 5th/Reverse Clutch Piston Inner Seal - 44.1 x 2.2 mm
635 - 4th/5th/Reverse Clutch Housing Assembly
641 - 1st, 2nd, and 3rd Drive Gear

1st And 2nd Clutch Shaft Components:





1st and 2nd Clutch Shaft Components

700 - 1st Clutch Backing Plate Retainer Ring - 141 mm
701 - 1st Clutch Selective Backing Plate
702 - 1st Clutch Fiber Plate Assembly
703 - 1st Clutch Steel Plate
704 - 1st Clutch Spring Plate
705 - Coast Clutch Backing Plate
706 - Coast Clutch Fiber Plate Assembly
707 - Coast Clutch Steel Plate
708 - 1st and Coast Clutch Piston Retainer Ring - 44 mm
709 - 1st and Coast Clutch Piston Retainer Cap
710 - 1st and Coast Clutch Piston Return Spring
711 - Coast Clutch Spring Plate
712 - Coast Clutch Piston Assembly
713 - Coast Clutch Piston Outer Seal - 110 x 2.2 mm
714 - Coast Clutch Piston Inner Seal - 52.1 x 2.2 mm
715 - 1st Clutch Piston
716 - 1st Clutch Piston Outer Seal - 119 x 2.3 mm
717a - 1st Clutch Piston Inner Seal - 44.1 x 2.2 mm
717b - 1st Clutch Piston Inner Seal - 45.1 x 2.2 mm
718 - 1st/Coast Clutch Housing Assembly
719 - 1st/2nd Clutch Shaft Rear Bearing - 29 x 65 x 9 mm
720 - 1st/2nd Clutch Shaft Retainer Nut Washer - 29 x 40 x 3.9 mm
721 - 1st/2nd Clutch Shaft Retainer Nut - 26 mm
722 - 1st/Coast Clutch Hub Bearing Selective Race - 52 mm
723 - 1st/Coast Clutch Hub End Bearing - 40 x 57 x 2.5 mm
724 - Coast Clutch Hub
725 - Coast Sprag with 1st Clutch Hub Sprag Assembly
726 - 1st Drive Gear
727 - 1st Drive Gear End Bearing - 43.5 x 61.5 x 2.5 mm
728 - 1st Drive Gear Inner Bearing - 39 x 44 x 47 mm
729 - 1st Drive Gear Inner Bearing Race - 32 x 39 x 63.3 mm
730 - 1st/2nd Clutch Shaft Drive Gear
731 - 2nd Drive Gear End Bearing - 44 x 66 x 3.5 mm
731 - 2nd Drive Gear End Bearing - 44 x 66 x 3.5 mm
732 - 2nd Drive Gear with Clutch Hub and Park Gear Assembly
733 - 2nd Drive Gear Inner Bearing - 44 x 50 x 42 mm
735 - 1st/Coast Clutch Housing Fluid Passage Seal - 26.7 x 1.9 mm
736 - 1st/2nd Clutch Shaft
737 - 2nd Clutch Housing Fluid Passage Seal - 31.2 x 1.9 mm
738 - 1st/2nd Clutch Shaft Fluid Passage Seal - 29 mm, Square Cut
739 - 2nd Clutch Backing Plate Retainer Ring - 129 mm
740 - 2nd Clutch Selective Backing Plate
741 - 2nd Clutch Fiber Plate Assembly
742 - 2nd Clutch Steel Plate
743 - 2nd Clutch Piston Retainer Ring - 42 mm
744 - 2nd Clutch Piston Retainer Cap
745 - 2nd Clutch Piston Return Spring
746 - 2nd Clutch Piston
747 - 2nd Clutch Piston Outer Seal - 114 x 2.2 mm
748 - 2nd Clutch Piston Inner Seal - 42.8 x 2.2 mm
749 - 2nd Clutch Housing Assembly
750 - 2nd Clutch Housing Thrust Bearing - 46 x 62.95 x 4.62 mm
751 - 2nd Clutch Housing Retainer Ring - 32 mm

3rd Clutch Shaft:





3rd Clutch Shaft

800 - 3rd Drive Gear and Clutch Hub End Bearing Selective Race - 53 mm
801 - 3rd Drive Gear and Clutch Hub End Bearing - 30 x 52 x 3 mm
801 - 3rd Drive Gear and Clutch Hub End Bearing - 30 x 52 x 3 mm
802 - 3rd Drive Gear and Clutch Hub Inner Bearing - 30 x 36 x 32 mm
803 - 3rd Drive with Clutch Hub Gear
805 - 3rd Driven Gear
806 - 3rd Driven Gear Retainer Ring - 19.8 mm
807 - 3rd Driven Gear Retainer Ring Cap
808 - 3rd Driven Gear Retainer Ring Cap Retainer Ring - 24 mm
809 - 3rd Clutch Shaft Selective Washer - 26.5 mm
810 - 3rd Clutch Backing Plate Retainer Ring - 137 mm
811 - 3rd Clutch Selective Backing Plate
812 - 3rd Clutch Fiber Plate Assembly
813 - 3rd Clutch Steel Plate
814 - 3rd Clutch Piston Retainer Ring - 42 mm
815 - 3rd Clutch Piston Return Spring Cup
816 - 3rd Clutch Piston Return Spring
817 - 3rd Clutch Spring Plate
818 - 3rd Clutch Piston
819 - 3rd Clutch Piston Outer Seal - 116.7 x 2.2 mm
820 - 3rd Clutch Piston Inner Seal - 41.8 x 2.2 mm
821 - 3rd Clutch Housing Assembly
822 - 3rd Clutch Housing Fluid Passage Seal - 26.7 x 1.9 mm
823 - 3rd Clutch Shaft
824 - 3rd Clutch Shaft Fluid Passage Seal - 35 mm, Square Cut

Front Differential Assembly:





Front Differential Assembly

900 - Front Differential Bearing Spacer - 46 x 80 x 1 mm
901 - Front Differential Bearing Race
902 - Front Differential Bearing - 40 x 80 x 21.25 mm
903 - Input Drive Gear - AWD Only
904 - Front Differential Assembly
905 - Front Differential Final Ring Gear
906 - Front Differential Carrier Bolt Left Hand Thread
907 - Front Differential Bearing - 45 x 85 x 19.7 mm
908 - Front Differential Bearing Race
909 - Front Differential Bearing Spacer - 46 x 85 x 1 mm
910 - Front Differential Bearing Selective Shim - 85 mm diameter
911 - Transfer Case Input Gear with Input Shaft Bearing - 22 x 76 x 19 mm
912 - Transfer Case Input Gear with Input Shaft Selective Shim - 28.5 mm diameter
913 - Transfer Case Input Gear with Input Shaft Gear
914 - Transfer Case Input Gear with Input Shaft Bearing - 40 x 80 x 16.5 mm
950 - Front Differential Pinion Shaft
951 - Front Differential Pinion Shaft Retaining Pin
953 - Front Differential Side Pinion Shaft (2)
954 - Front Differential Side Pinion Shaft Retainer Pin (2)
955 - Front Differential Side Pinion Shaft Washer (4)
956 - Front Differential Pinion Gear (4)
957 - Front Differential Side Pinion Shaft Holder
958 - Front Differential Side Gear (2)
959 - Front Differential Side Gear Washer (2)
960 - Front Differential Carrier Cover
961 - Front Differential Carrier Cover Bolt (2), Phillips Head

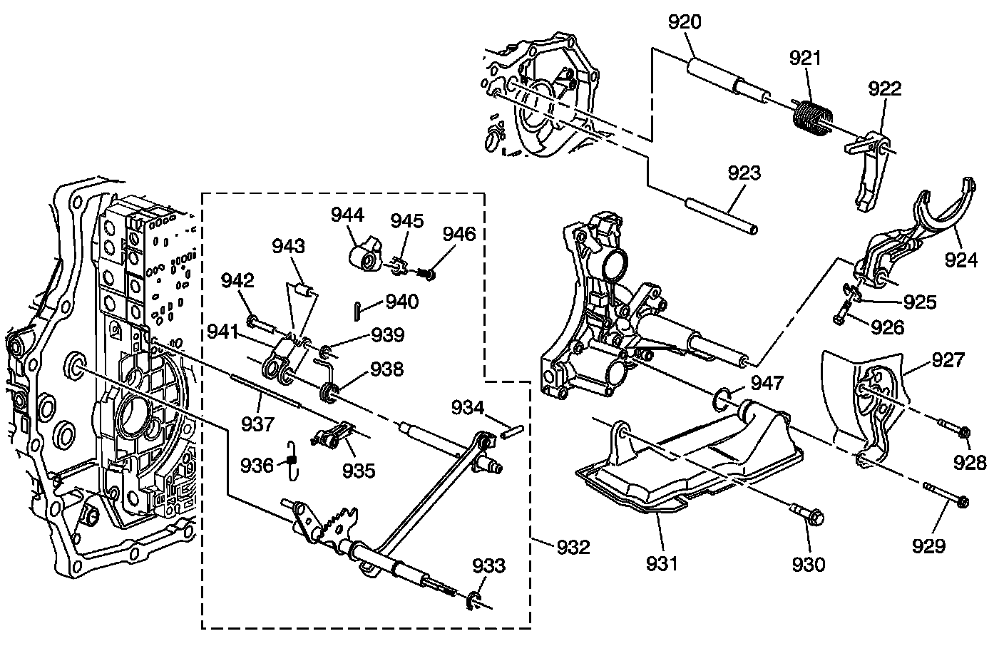
Shift Components:





Shift Components

920 - Park Pawl Shaft
921 - Park Pawl Actuator Spring
922 - Park Pawl
923 - Park Pawl Stop Lever Pin - 8 x 73 mm
924 - Reverse Shift Fork
925 - Reverse Shift Fork Washer
926 - Reverse Shift Fork Retainer Bolt - M6 x 30 mm
927 - Automatic Transmission Fluid Baffle
928 - Transmission Fluid Baffle Bolt - M6 x 80 mm
929 - Transmission Fluid Baffle Bolt - M6 x 95 mm
930 - Automatic Transmission Fluid Filter Bolt
931 - Automatic Transmission Fluid Filter
932 - Manual Shift Shaft Assembly
933 - Manual Shaft Retainer Ring - 12 mm
934 - Park Pawl Actuator Shaft Hole Pin - 4 x 18 mm
935 - Manual Shift Shaft Detent Roller Assembly
936 - Manual Shift Shaft Detent Roller Spring
937 - Manual Shift Shaft Detent Roller Pin
938 - Park Pawl Actuator Spring
939 - Park Pawl Actuator Roller Pin Washer - 6 mm
940 - Park Pawl Actuator Roller Pin Retainer Pin - 1.6 x 12 mm
941 - Park Pawl Actuator
942 - Park Pawl Actuator Roller Pin - 6 mm
943 - Park Pawl Actuator Roller
944 - Parking Pawl Stop Lever
945 - Park Pawl Stop Lever Washer - 6 mm
946 - Park Pawl Stop Lever Bolt - M6 x 25 mm
947 - Automatic Transmission Fluid Filter O-ring Seal - 21.8 x 1.9 mm