lemon-mirror:
Home >> Saturn >> 2004 >> VUE 2WD L4-2.2L VIN D >> Repair and Diagnosis >> Diagrams >> Connector Views >> Engine Control Module >> Engine Control Module (ECM) C1

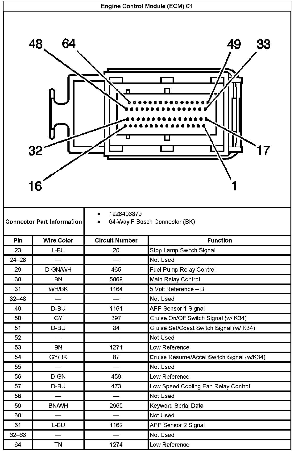
Engine Control Module (ECM) C1

Engine Control Module (ECM) C1 Part 1:



Engine Control Module (ECM) C1 Part 2: