lemon-mirror:
Home >> Saturn >> 2004 >> L Series L4-2.2L VIN F >> Repair and Diagnosis >> Specifications >> Mechanical Specifications >> Engine >> System Specifications >> Thread Repair Specifications >> Lower Crankcase - Bottom View

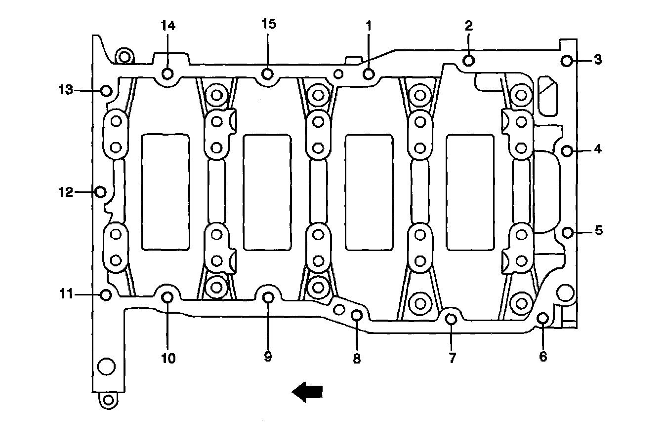
Lower Crankcase - Bottom View

Part 1 Of 2:



Part 2 Of 2: