lemon-mirror:
Home >> Saturn >> 2004 >> L Series L4-2.2L VIN F >> Repair and Diagnosis >> Powertrain Management >> Computers and Control Systems >> Main Relay (Computer/Fuel System) >> Locations

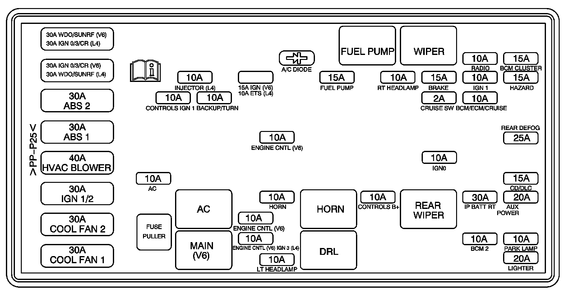
Main Relay (Computer/Fuel System): Locations

Location View:



Entertainment Components: