lemon-mirror:
Home >> Saturn >> 2003 >> ION L4-2.2L VIN F >> Repair and Diagnosis >> Powertrain Management >> Computers and Control Systems >> Transmission Position Sensor/Switch >> Service and Repair

Transmission Position Sensor/Switch: Service and Repair


Park/Neutral Position Switch Replacement

Tools Required
^ J36346 Fascia Retainer Remover
^ J45404 Transmission Indicator Alignment Tool

Removal Procedure
1. Apply the parking brake.
2. Place the transmission shift lever in the neutral position.





3. Using the J36346 or equivalent, disconnect the shift cable from the transmission control.
4. Disconnect the Park/neutral position switch harness connector.





5. Remove the transmission control nut (1) and lever (2).





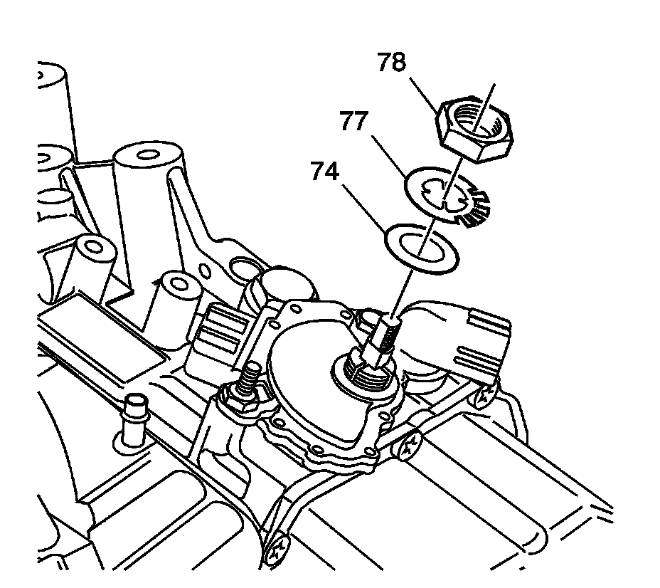
6. Using a small screwdriver, bend the lock washer tabs down on the manual shaft nut.





7. Remove the manual shaft nut (78), lock washer (77) and flat washer (74).





8. Remove the park/neutral position switch bolt (79), stud (76) and lock washers.
9. Remove the park/neutral position switch (75) from the transmission.

Installation Procedure





1. Install the park/neutral position switch (75) to the manual valve lever shaft and transmission.
2. Install the park/neutral position switch bolt (79), stud (76) and lock washers. Hand tighten only.





3. Notice: Refer to Fastener Notice in Service Precautions.

Install the flat washer (74), lock tab washer (77) and nut (78) to the manual shaft.
Tighten the nut to 7 Nm (62 inch lbs.).





4. Important: The transmission manual shaft must be in the neutral position when adjusting the park/neutral position switch.

If installing the old park/neutral position switch, perform the following procedure:
1. Install the J45404 to the manual shaft in order to align the pointer to the neutral base line.
2. Rotate the park/neutral position switch as necessary to align the neutral base line to the pointer.
3. Remove the J45404 from the manual shaft.

5. Tighten the park/neutral position switch bolt and stud.
Tighten the bolt and stud to 25 Nm (18 ft. lbs.).





6. Lock the manual shaft nut by bending the lock washer tab upwards flush with the nut.
7. Connect the park/neutral position switch harness connector.





8. Install the transmission control lever (2) and nut (1).
Tighten the nut to 16 Nm (12 ft. lbs.).





9. Connect the shift cable to the transmission control lever.
10. Verify the park/neutral position switch adjustment by starting the vehicle in all ranges. If the transmission starts in any range other than park or neutral, readjust the park/neutral position switch.