lemon-mirror:
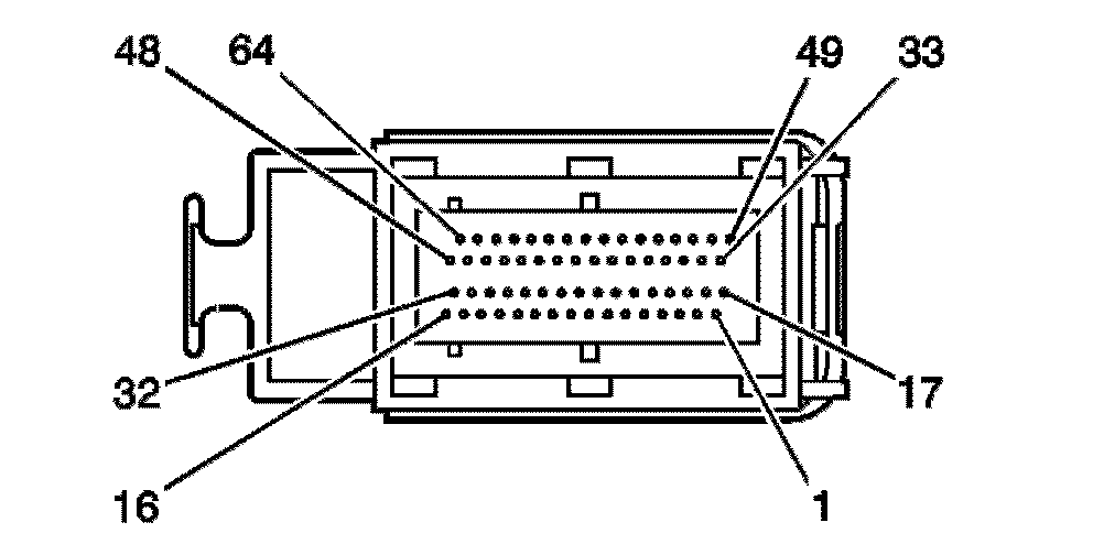
Home >> Saturn >> 2002 >> VUE V6-3.0L VIN B >> Repair and Diagnosis >> Diagrams >> Connector Views >> Powertrain Management >> Engine Control Module >> C1

C1