lemon-mirror:
Home >> Saturn >> 2002 >> VUE L4-2.2L VIN D >> Repair and Diagnosis >> Powertrain Management >> Computers and Control Systems >> Engine Control Module >> Diagrams >> Connector Views >> C1

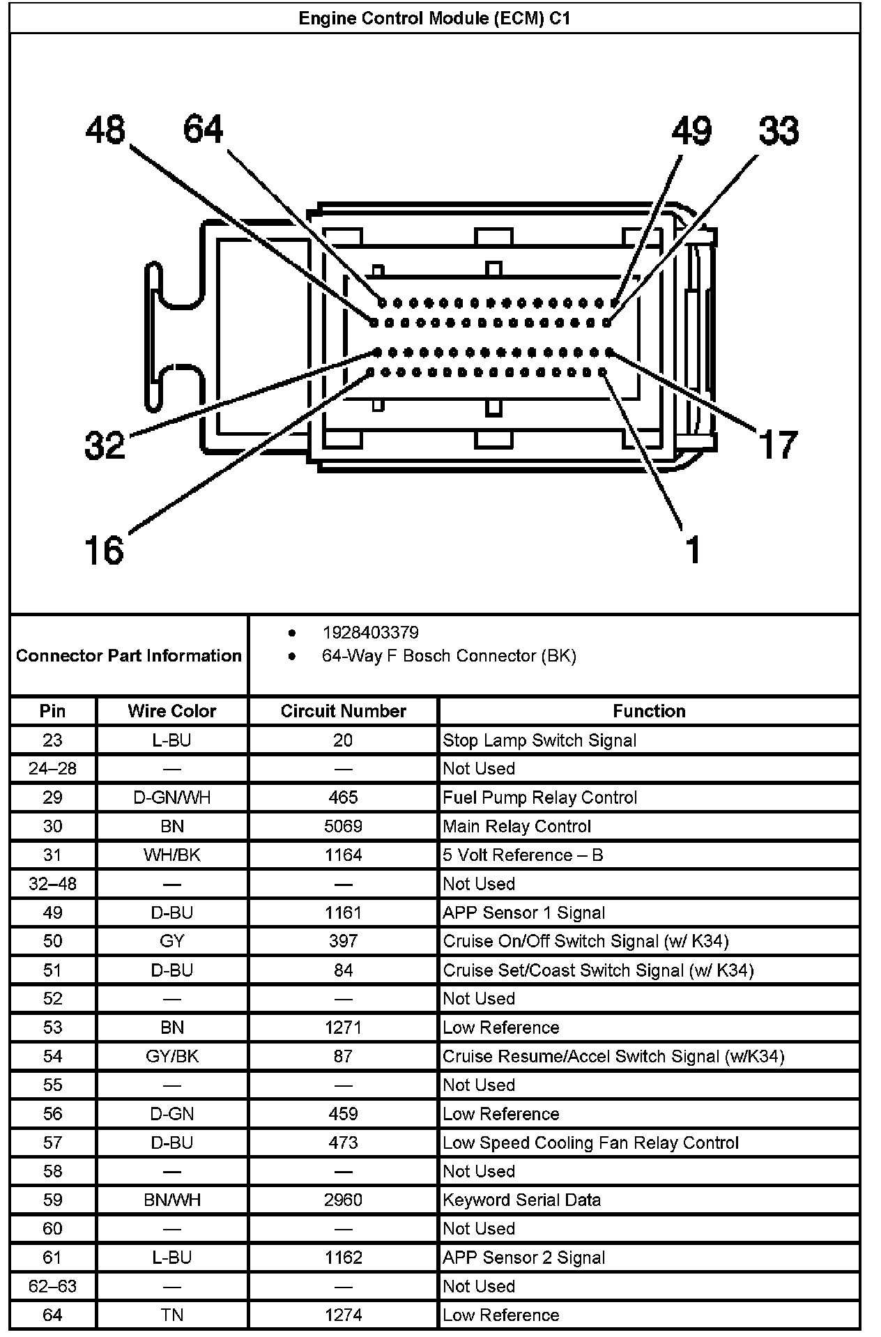
C1

Engine Control Module (ECM) C1 Part 1:




Engine Control Module (ECM) C1 Part 2: