lemon-mirror:
Home >> Saturn >> 2001 >> L100 L4-2.2L VIN F >> Repair and Diagnosis >> Specifications >> Mechanical Specifications >> Engine >> System Specifications >> Engine Block Specifications >> Main Bearing Cap Torque

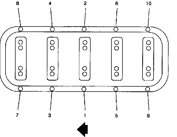
Main Bearing Cap Torque





Install the lower crankcase. Tap gently into place with-a suitable tool if necessary. Ensure it is aligned properly on the alignment dowels.

IMPORTANT: Always use new crankshaft bearing bolts.





Install and tighten crankshaft bearing bolts using, tightening sequence.
Torque:
Crankshaft Bearing Cap Initial Torque (Lower Crankcase-to-Block Bolts): 20 Nm (15 ft. lbs.) + 70°





Tighten lower crankcase perimeter bolts using tightening sequence.
Torque:
Lower Crankcase-to-Block Peripheral Bolts: 20 Nm (15 ft. lbs.)





Tighten crankshaft bearing bolts an additional 20° using tightening sequence.
Torque:
Crankshaft Bearing Cap Final Torque (Lower Crankcase-to-Block Bolts): Additional 20°