lemon-mirror:
Home >> Saturn >> 2001 >> L100 L4-2.2L VIN F >> Repair and Diagnosis >> Specifications >> Mechanical Specifications >> Engine >> Cylinder Head Assembly >> System Specifications >> Torque Specifications

Torque Specifications

Cylinder Head





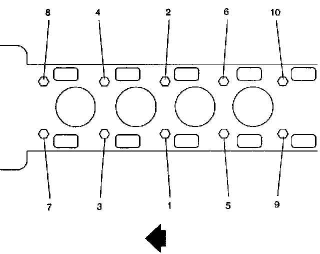
Install and tighten cylinder head bolts in sequence.
Torque:
Cylinder Head Bolts: 30 Nm (22 ft. lbs.) + 155°

Cylinder Head Front Chaincase Bolts:





Coat front cylinder head bolts with Loctite 242.

Install front cylinder head bolts.
Torque:
Cylinder Head Front chain case Bolts: 20 Nm (15 ft. lbs.)


Related Torque Specifications