lemon-mirror:
Home >> Saturn >> 2000 >> LS L4-2.2L VIN F >> Repair and Diagnosis >> Diagrams >> Exploded Views >> Automatic Transmission/Transaxle >> Oil Pump Assembly

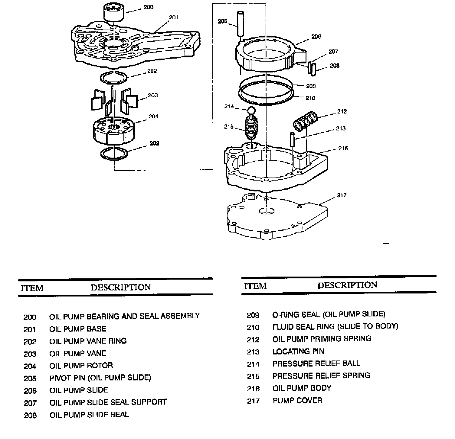
Oil Pump Assembly