lemon-mirror:
Home >> Saab >> 2007 >> 9-7X V8-5.3L >> Repair and Diagnosis >> Powertrain Management >> Computers and Control Systems >> Oil Pressure Sensor >> Service and Repair

Oil Pressure Sensor: Service and Repair



Engine Oil Pressure Sensor and/or Switch Replacement

Tools Required

J 41712 Oil Pressure Switch Socket

Removal Procedure




1. Remove the intake manifold. Refer to Intake Manifold Replacement (5.3L) (Intake Manifold Replacement).
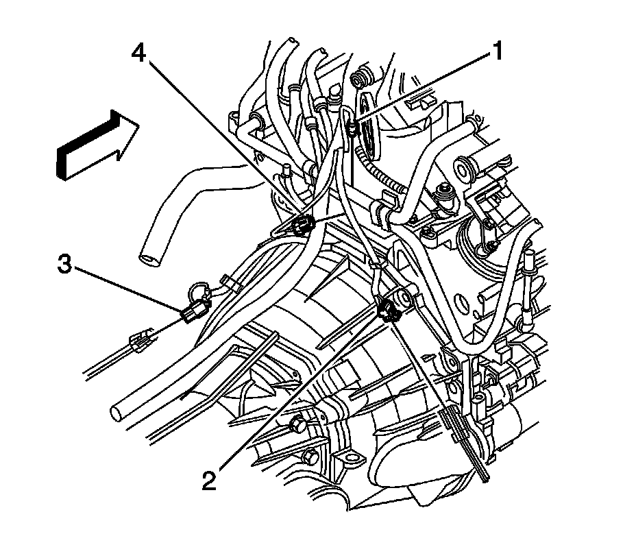
2. Disconnect the oil pressure sensor electrical connector (1).




3. Using J 41712 or equivalent, remove the oil pressure sensor.

Installation Procedure




1. Apply sealant to the threads of the oil pressure sensor. Refer to Sealers, Adhesives, and Lubricants (Sealers, Adhesives, and Lubricants) for the correct part number.
Notice: Refer to Fastener Notice (Fastener Notice).

2. Using J 41712 or equivalent, install the oil pressure sensor.

Tighten the sensor to 20 Nm (15 ft. lbs.).




3. Connect the oil pressure sensor electrical connector (1).
4. Install the intake manifold. Refer to Intake Manifold Replacement (5.3L) (Intake Manifold Replacement).