lemon-mirror:
Home >> Saab >> 2007 >> 9-7X V8-5.3L >> Repair and Diagnosis >> Diagrams >> Exploded Views >> Engine

Engine



Disassembled Views (5.3L)

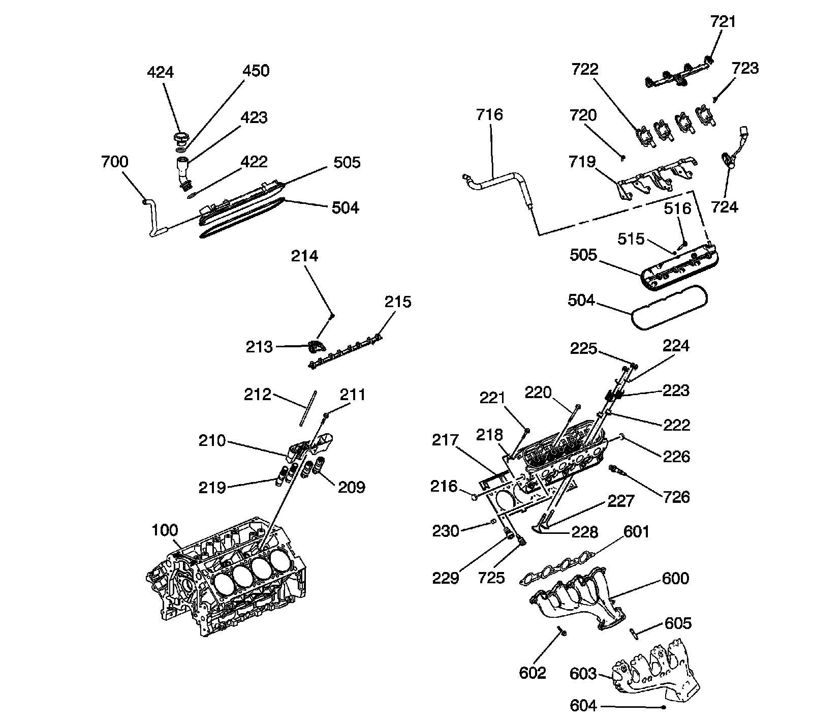
Intake Manifold/Upper Engine

Intake Manifold/Upper Engine:




100 - Engine Block
307 - Engine Coolant Air Bleed Pipe
308 - Seal
308 - Seal
309 - Bolt
312 - Bolt
313 - Engine Coolant Air Bleed Cover
451 - Valve Lifter Oil Manifold
452 - Valve Lifter Oil Filter
454 - O-Ring
500 - Intake Manifold
506 - Bolt
507 - Nut
508 - Throttle Body
509 - Throttle Body Gasket
510 - Fuel Rail with Injectors
511 - Bolt
512 - Bolt
513 - Seal
514 - Intake Manifold Gasket
538 - Bolt
556 - Valve Lifter Oil Manifold Gasket
706 - Oil Pressure Sensor
707 - Washer
712 - Fuel Rail Stop Bracket
713 - Bolt
714 - Manifold Absolute Pressure (MAP) Sensor
715 - O-Ring
729 - Evaporative Emission (EVAP) Canister Purge Tube
730 - EVAP Canister Purge Solenoid Valve
731 - Cap
733 - Label
734 - Service Valve
735 - EVAP Canister Purge Tube
736 - MAP Sensor Retainer

Cylinder Head/Upper Engine

Cylinder Head/Upper Engine:




100 - Engine Block
209 - Valve Lifter - Non Active Fuel Management
210 - Valve Lifter Guide
211 - Bolt
212 - Pushrod
213 - Valve Rocker Arm
214 - Bolt
215 - Valve Rocker Arm Pivot Support
216 - Core Hole Plug
217 - Cylinder Head Gasket
218 - Cylinder Head
219 - Valve Lifter - Active Fuel Management
220 - Bolt - M11
221 - Bolt - M8
222 - Valve Stem Oil Seal
223 - Valve Spring
224 - Valve Spring Cap
225 - Valve Stem Key
226 - Core Hole Plug
227 - Intake Valve
228 - Exhaust Valve
229 - Cylinder Head Plug
230 - Cylinder Head Locating Pin
422 - Oil Fill Tube O-Ring
423 - Oil Fill Tube
424 - Oil Fill Cap
450 - Oil Fill Cap O-Ring
504 - Valve Cover Gasket
504 - Valve Cover Gasket
505 - Valve Cover
505 - Valve Cover
515 - Valve Cover Bolt Grommet
516 - Bolt
600 - Exhaust Manifold
601 - Exhaust Manifold Gasket
602 - Bolt
603 - Exhaust Manifold Heat Shield
604 - Bolt
605 - Stud
700 - Positive Crankcase Ventilation (PCV) Hose - Fresh Air
716 - PCV Hose - Dirty Air
719 - Ignition Coil Bracket
720 - Stud
721 - Ignition Coil Wire Harness
722 - Ignition Coil
723 - Bolt
724 - Spark Plug Wire
725 - Coolant Temperature Sensor
726 - Spark Plug

Front of Engine

Front of Engine:




1 - Water Inlet Housing
2 - Bolt
3 - O-Ring
4 - Thermostat
5 - Bolt
6 - Water Pump
7 - Water Pump Gasket
8 - Oil Level Indicator
9 - O-Ring
10 - Bolt
11 - Oil Level Indicator Tube
12 - O-Ring
13 - Engine Block
14 - Camshaft Bearings
15 - Camshaft
16 - Camshaft Sprocket Locating Pin
17 - Camshaft Retainer Plate
18 - Bolt
19 - Camshaft Sprocket
20 - Bolt
21 - Crankshaft Sprocket
22 - Timing Chain
23 - Timing Chain Tensioner
24 - Bolt
25 - Engine Front Cover Gasket
26 - Engine Front Cover
27 - Bolt
28 - Crankshaft Front Oil Seal
29 - Crankshaft Balancer
30 - Bolt
31 - Bolt
32 - Camshaft Position (CMP) Sensor
33 - O-Ring
34 - Bolt
35 - CMP Sensor Wire Harness
36 - Oil Pump Housing Cover
37 - Bolt
38 - Bolt
39 - Oil Pump Drive Gear
40 - Oil Pump Driven Gear
41 - Oil Pump
42 - O-Ring
43 - Bolt
44 - Nut
45 - Oil Pump Screen
46 - Oil Pump Housing Plug
47 - Oil Pump Pressure Relief Valve Spring
48 - Oil Pump Pressure Relief Valve

Rear of Engine

Rear of Engine:




100 - Engine Block
132 - Flex Plate - Automatic Transmission
133 - Bolt
141 - Crankshaft Rear Oil Seal
517 - Bolt
518 - Crankshaft Rear Oil Seal Housing
519 - Crankshaft Rear Oil Seal Housing Gasket

Lower Engine Assembly

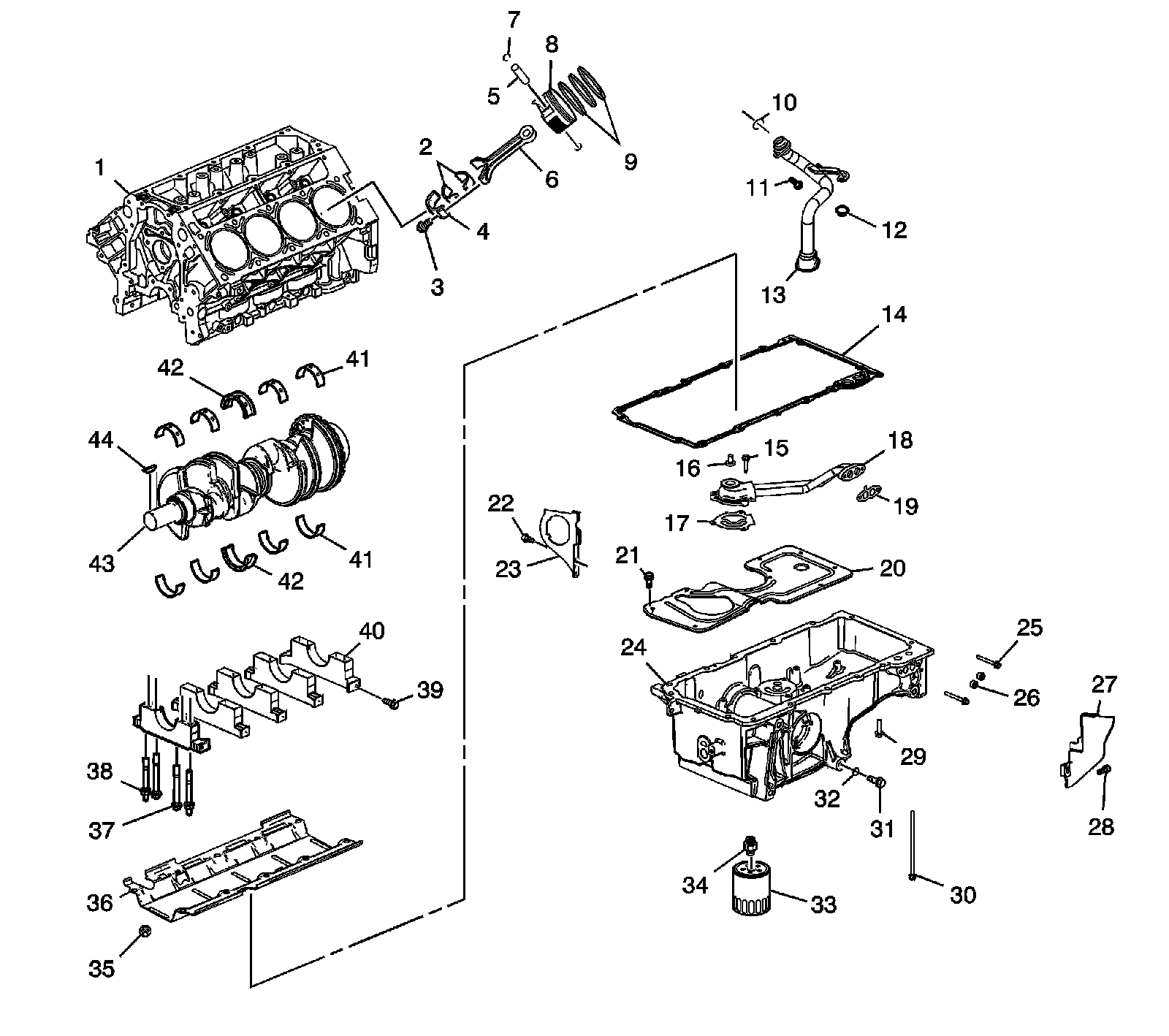
Lower Engine Assembly:




1 - Engine Block
2 - Connecting Rod Bearings
3 - Bolt
4 - Connecting Rod Cap
5 - Piston Pin
6 - Connecting Rod
7 - Retainer
8 - Piston
9 - Piston Rings
10 - O-Ring
11 - Bolt
12 - Nut
13 - Oil Pump Screen
14 - Oil Pan Gasket
15 - Bolt
16 - Oil Pressure Relief Valve
17 - Oil Filter Tube Gasket
18 - Oil Filter Tube
19 - Oil Filter Tube Gasket
20 - Oil Pan Baffle
21 - Bolt
22 - Bolt
23 - Cover - Right
24 - Oil Pan
25 - Bolt
26 - Plug
27 - Cover - Left
28 - Bolt
29 - Bolt
30 - Bolt
31 - Oil Pan Drain Plug
32 - O-Ring
33 - Oil Filter
34 - Oil Filter Fitting
35 - Nut
36 - Crankshaft Oil Deflector
37 - Bolt - M10
38 - Stud - M10
39 - Bolt - M8
40 - Crankshaft Bearing Cap
41 - Crankshaft Main Bearing
41 - Crankshaft Main Bearing
42 - Crankshaft Thrust Bearing
42 - Crankshaft Thrust Bearing
43 - Crankshaft
44 - Crankshaft Sprocket Key

Engine Block Plugs/Sensors




100 - Engine Block
100 - Engine Block
101 - Oil Gallery Plug - Front
102 - Cup Plug
110 - O-Ring
111 - Oil Gallery Plug - Rear
112 - Oil Gallery Plug - Side
113 - Washer
114 - Engine Coolant Heater
115 - Washer
116 - Oil Gallery Plug - Side
117 - Washer
130 - Transmission Housing Locating Pin
145 - Washer
146 - Engine Block Coolant Drain Hole Plug
701 - Crankshaft Position (CKP) Sensor
702 - O-Ring
718 - Knock Sensor
718 - Knock Sensor
739 - Bolt
739 - Bolt
750 - CKP Sensor Bolt

Oil Pump Assembly

Oil Pump Assembly:




408 - Bolt
409 - Oil Pump Housing Cover
410 - Oil Pump Drive Gear
412 - Oil Pump Driven Gear
413 - Oil Pump
414 - Oil Pump Pressure Relief Valve
415 - Oil Pump Pressure Relief Valve Spring
416 - Oil Pump Housing Plug