lemon-mirror:
Home >> Saab >> 2006 >> 9-7X L6-4.2L >> Repair and Diagnosis >> Powertrain Management >> Computers and Control Systems >> Main Relay (Computer/Fuel System) >> Locations

Main Relay (Computer/Fuel System): Locations



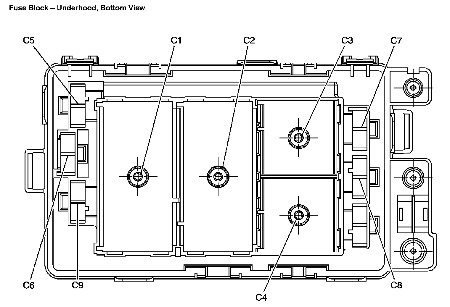
Location View:




Application Table (Part 1):




Application Table (Part 2):




Location View:




Location View: