lemon-mirror:
Home >> Saab >> 2006 >> 9-2X F4-2.5L >> Repair and Diagnosis >> Diagrams >> Exploded Views >> Electronic Brake Control Module

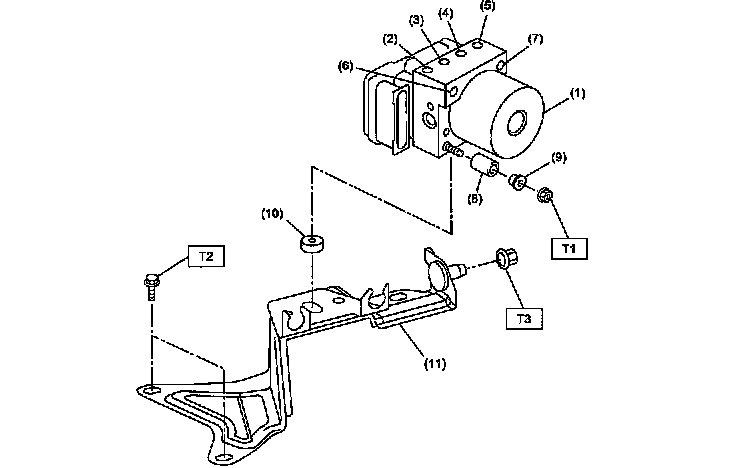
Electronic Brake Control Module

ABS CONTROL MODULE AND HYDRAULIC CONTROL UNIT (ABSCM&H/U)