lemon-mirror:
Home >> Saab >> 2005 >> 9-7X V8-5.3L >> Repair and Diagnosis >> Specifications >> Mechanical Specifications >> Engine >> System Specifications >> Thread Repair Specifications

Thread Repair Specifications



Thread Repair Specifications

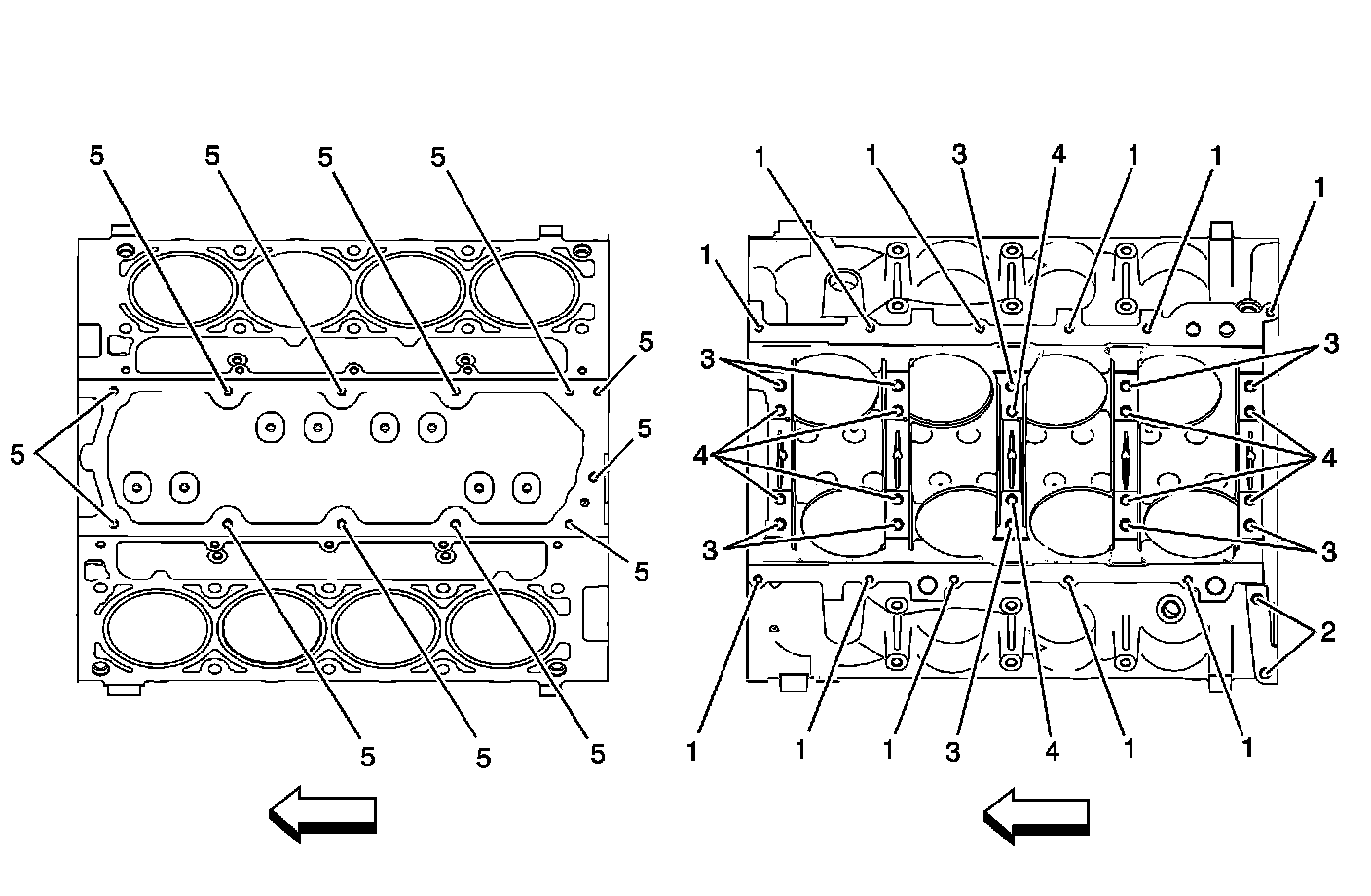
Engine Block - Front/Rear Views

Engine Block:









Engine Block - Left/Right Side Views

Engine Block:









Engine Block - Top/Bottom Views

Engine Block:









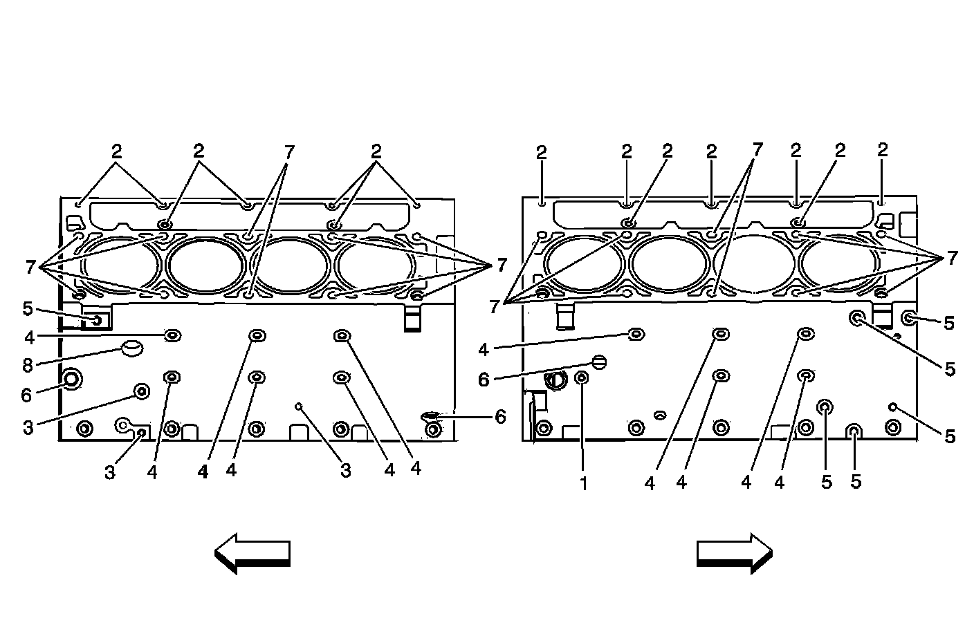
Cylinder Head - Top/End Views

Cylinder Head:









Cylinder Head - Intake/Exhaust Side Views

Cylinder Head: