lemon-mirror:
Home >> Saab >> 2005 >> 9-2X F4-2.5L >> Repair and Diagnosis >> Heating and Air Conditioning >> System Relay >> Testing and Inspection

System Relay: Testing and Inspection



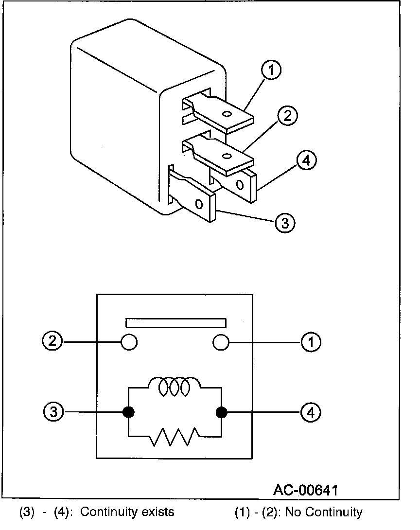
Relay And Fuse

Inspection







While applying battery voltage to the terminal between (3) and (4), check continuity between (1) and (2).

If no continuity exists, replace the relay with a new one.