lemon-mirror:
Home >> Saab >> 2005 >> 9-2X F4-2.5L >> Repair and Diagnosis >> Diagrams >> Exploded Views >> Steering >> System Diagram >> Power Assisted System

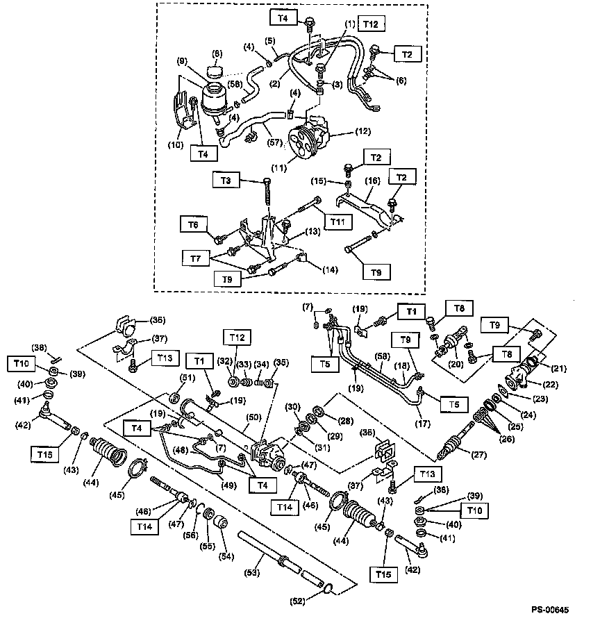
Power Assisted System

Power Assisted System (Part 1):



Power Assisted System (Part 2):



Power Assisted System (Part 3):