lemon-mirror:
Home >> Saab >> 2005 >> 9-2X F4-2.5L >> Repair and Diagnosis >> Diagrams >> Exploded Views >> Exhaust System

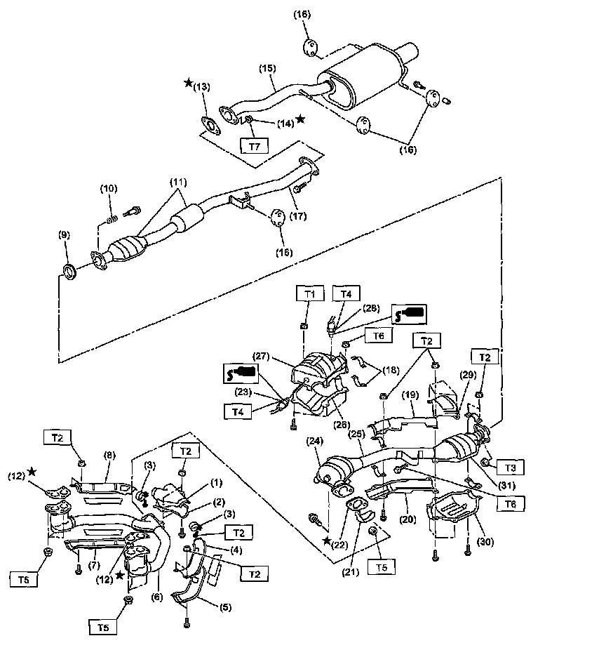
Exhaust System