lemon-mirror:
Home >> Saab >> 2005 >> 9-2X F4-2.0L Turbo >> Repair and Diagnosis >> Diagrams >> Exploded Views >> Exhaust System

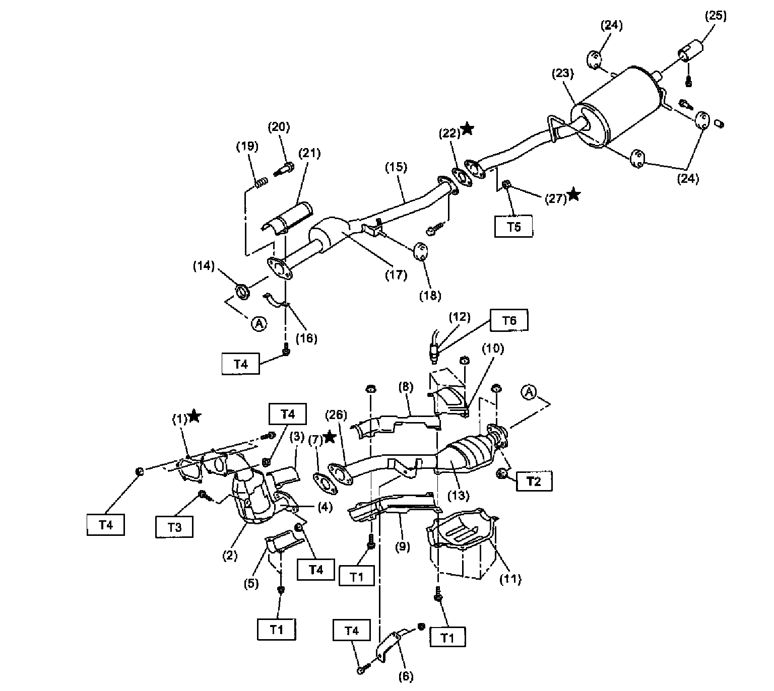
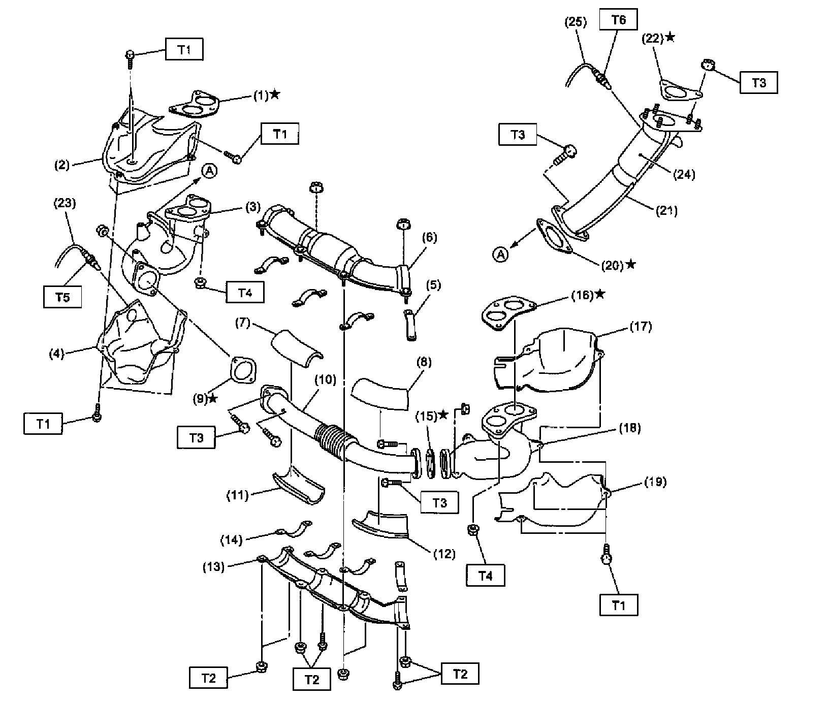
Exhaust System

FRONT EXHAUST PIPE (Part 1):



FRONT EXHAUST PIPE (Part 2):



CENTER AND REAR EXHAUST PIPE, AND MUFFLER (Part 1):



CENTER AND REAR EXHAUST PIPE, AND MUFFLER (Part 2):