lemon-mirror:
Home >> Saab >> 2005 >> 9-2X F4-2.0L Turbo >> Repair and Diagnosis >> Diagrams >> Exploded Views >> Cooling System

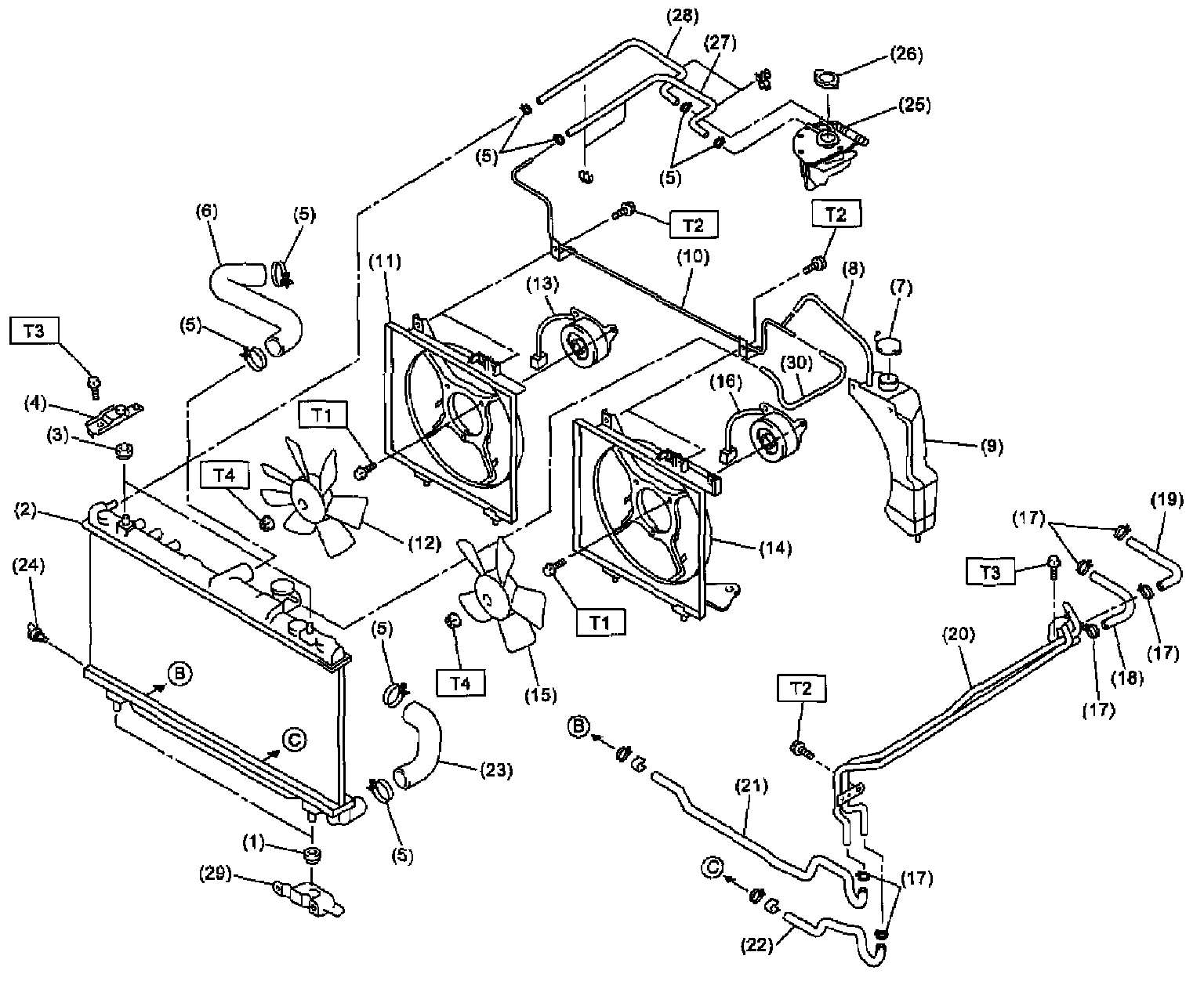
Cooling System

Part 1:



Part 2:



Part 3: