lemon-mirror:
Home >> Saab >> 1987 >> 900 L4-1985cc 2.0L >> Repair and Diagnosis >> Specifications >> Mechanical Specifications >> Engine >> Cylinder Block Assembly >> Piston, Engine

Piston, Engine

Piston Assembly:





NOTE: Different makes of piston must not be fitted in the same engine.

Piston Speed:
13 m/s (42.65 ft/s) at 5,000 rpm

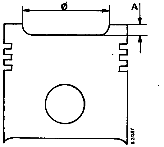
Piston Dimensions:





NOTE: Different pistons are fitted depending on the compression ratio of the engine. Dish diameter is 64 mm (2.52 in).

Piston Dimension "A":
1.0 mm (0.04 in)

Piston Weight:
504 - 516 g (18.1 - 18.6 oz)

Piston Identification:





Piston Diameter:
Measure the piston diameter at right angles to the gudgeon pin hole and:
- 16 mm above the bottom edge of the skirt on MAHLE pistons
- 22 mm above the bottom edge of the skirt on KOLBEN SCHMIDT pistons

Classification Of Pistons And Cylinder Bores:
The piston classification is stamped on the top of the piston crown. The piston service classes are AB, B, C, oversize 0.5 and 1.0;The cylinder class is stamped on the cylinder joint face and is given for each cylinder. The cylinders are classified into class A and class B. Both classes may occur in the same cylinder block.

NOTES:
Standard piston sizes A are not available as a spare part.
Piston clearance specification is a nominal value.

Previous Piston Classification Turbo (MAHLE):
Standard A 89.960 - 89.970 mm (3.5444 - 3.5448 in)
Standard AB 89.970 - 89.976 mm (3.5448 - 3.5450 in)
Standard B 89.976 - 89.986 mm (3.5450 - 3.5454 in)
Standard C 89.986 - 90.002 mm (3.5454 - 3.5461 in)
First oversize (0.5 mm) 90.460 - 90.475 mm (3.5641 - 3.5647 in)
Second oversize (1.0 mm) 90.960 - 90.975 mm (3.5838 - 3.5844 in)
Piston clearance 0.024 - 0.050 mm (0.0009 - 0.0020 in)

Others (KOLBEN SCHMIDT):
Standard A 89.972 - 89.980 mm (3.5449 - 3.5452 in)
Standard AB 89.980 - 89.986 mm (3.5452 - 3.5454 in)
Standard B 89.986 - 89.994 mm (3.5454 - 3.5458 in)
Standard C 89.994 - 90.010 mm (3.5458 - 3.5464 in)
First oversize (0.5 mm) 90.472 - 90.487 mm (3.5646 - 3.5652 in)
Second oversize (1.0 mm) 90.972 - 90.987 mm (3.5843 - 3.5849 in)
Piston clearance 0.014 - 0.040 mm (0.0005 - 0.0016 in)

New Classification Turbo And Carburettor (MAHLE):
Standard A 89.960 - 89.970 mm (3.5444 - 3.5448 in)
Standard AB 89.970 - 89.978 mm (3.5448 - 3.5451 in)
Standard B 89.978 - 89.986 mm (3.5451 - 3.5454 in)
Standard C 89.986 - 90.002 mm (3.5454 - 3.5461 in)
First oversize (0.5 mm) 90.460 - 90.475 mm (3.5641 - 3.5647 in)
Second oversize (1.0 mm) 90.960 - 90.975 mm (3.5838 - 3.5844 in)
Piston clearance 0.022 - 0.050 mm (0.0009 - 0.0020 in)

Turbo And Fuel Injection (MAHLE, KOLBEN SCHMIDT):
Standard A 89.978 - 89.988 mm (3.5451 - 3.5455 in)
Standard AB 89.988 - 89.996 mm (3.5455 - 3.5458 in)
Standard B 89.996 - 90.004 mm (3.5458 - 3.5462 in)
Standard C 90.004 - 90.020 mm (3.5462 - 3.5468 in)
First oversize (0.5 mm) 90.482 - 90.497 mm (3.5650 - 3.5656 in)
Second oversize (1.0 mm) 90.982 - 90.997 mm (3.5847 - 3.5853 in)
Piston clearance 0.004 - 0.032 mm (0.0002 - 0.0012 in)

Fuel Injection (HEPOLITE):
Standard A 89.977 - 89.985 mm (3.5451 - 3.5454 in)
Standard AB 89.985 - 89.991 mm (3.5454 - 3.5456 in)
Standard B 89.991 - 89.999 mm (3.5456 - 3.5460 in)
Standard C 89.999 - 90.015 mm (3.5460 - 3.5466 in)
First oversize (0.5 mm) 90.477 - 90.492 mm (3.5648 - 3.5654 in)
Second oversize (1.0 mm) 90,977 - 90.992 mm (3.5845 - 3.5851 in)
Piston clearance 0.009 - 0.035 mm (0.0004 - 0.0014 in)

Resulting Schmidt Piston Clearance - Previous Classification:
Piston/cylinder, clearance limits:
A/A 0.020 - 0.038 mm
AB/A 0.014 - 0.030 mm
AB/B 0.024 - 0.040 mm
B/A 0.006 - 0.024 mm

Resulting Turbo Piston Clearance - Previous Classification:
Piston/cylinder, clearance limits:
A/A 0.030 - 0.050 mm
AB/A 0.024 - 0.040 mm
AB/B 0.035 - 0.050 mm
B/A 0.014 - 0.034 mm
B/B 0.008 - 0.034 mm

Resulting Schmidt Piston Clearance - New Classification:
Piston/cylinder, clearance limits:
A/A 0.012 - 0.032 mm
AB/A 0.004 - 0.022 mm
AB/B 0.014 - 0.032 mm
B/B 0.006 - 0.024 mm

Resulting Turbo Piston Clearance - New Classification:
Piston/cylinder, clearance limits:
A/A 0.030 - 0.050 mm
AB/A 0.024 - 0.040 mm
AB/B 0.032 - 0.050 mm
B/A 0.014 - 0.032 mm
B/B 0.024 - 0.042 mm
C/B 0.008 - 0.034 mm

Resulting Hepolite Piston Clearance - New Classification:
Piston/cylinder, clearance limits:
A/A 0.015 - 0.033 mm
AB/A 0.000 - 0.025 mm
AB/B 0.019 - 0.035 mm
B/A 0.001 - 0.019 mm
B/B 0.011 - 0.029 mm