lemon-mirror:
Home >> Porsche >> 2000 >> Boxster (986) F6-2.7L >> Repair and Diagnosis >> Specifications >> Mechanical Specifications >> Engine >> Cylinder Head Assembly >> System Specifications >> Dimensional

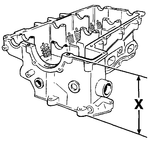
Dimensional





Permissible unevenness of the parting plane: 0.05 mm

Permissible unevenness after machining: 0.03 mm






Wear dimension: 141.80 mm

Note on machining the sealing surface:
Peak-to-valley height = 0.015 mm