lemon-mirror:
Home >> Porsche >> 2000 >> Boxster (986) F6-2.7L >> Repair and Diagnosis >> Diagrams >> Connector Views >> Control Module, A/T

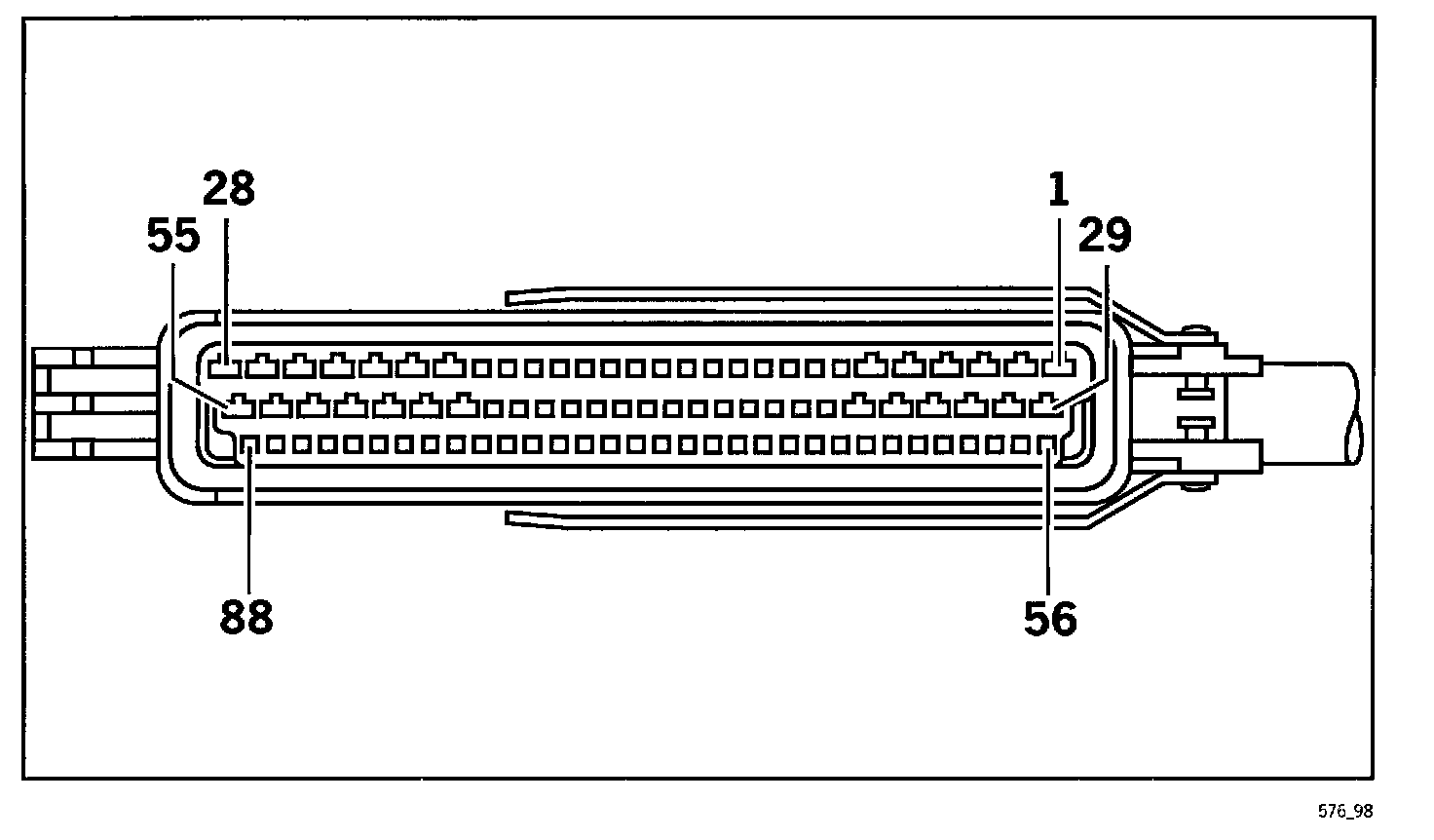
Control Module, A/T




5. Connector assignment

5.1 Connector assignment, Tiptronic control module







Pin Designation
1 Pressure regulator 2 (ground)
2 Selector lever lock solenoid (ground)
4 Pressure regulator 4 (ground)
5 Pressure regulator 1 (ground)
6 Ground (power ground)
8 Multi-function switch wire 2 (ground)
9 Multi-function switch wire 4 (ground)
10 Stop light switch (voltage)
12 Not used (pin code 1)
13 Manual programme switch (ground)
14 Output shaft speed (ground)
15 Output shaft speed shield
16 Turbine speed (voltage)
18 Kickdown switch (ground)
21 Analog ground (ATF temperature sensor)
22 ATF temperature sensor (signal wire)
23 Turbine speed shield (ground)
25 Manual operation display
26 Terminal 30
28 Electronic ground
29 Pressure regulator 3 (ground)
30 Solenoid valve 1 (signal wire)
32 Solenoid valve 3 (signal wire)
33 Solenoid valve 2 (signal wire)
34 Power ground
36 Multi-function switch wire 1 (ground)
37 Multi-function switch wire 3 (ground)
42 Output shaft speed sensor (voltage)
44 Turbine speed sensor (ground)
46 Upshift switch (ground)
47 Downshift switch (ground)
48 Not used (pin code 2)
51 Coolant shutoff valve
52 Pressure regulator and solenoid valve voltage
53 Pressure regulator, solenoid valve and shiftlock voltage
54 Terminal 15
55 Terminal 15
85 CAN bus signal wire (low)
86 CAN bus signal wire (high)
88 K-line (control module -> diagnostic tester communication wire)