lemon-mirror:
Home >> Pontiac >> 2010 >> Vibe FWD L4-2.4L >> Repair and Diagnosis >> Locations >> Component Locations >> Powertrain Component Views

Powertrain Component Views




Powertrain Component Views

Automatic Transmission Components (LAX with MVA)




1 - Transmission Connector
2 - Oil Cooler Outlet Tube
3 - Automatic Transmission Output Shaft Speed (OSS) Sensor
4 - Automatic Transmission Input Shaft Speed (ISS) Sensor
5 - Park/Neutral Position (PNP) Switch
6 - Oil Cooler Inlet Tube

Automatic Transmission Components (LAX with MVD)




1 - Automatic Transmission Output Shaft Speed (OSS) Sensor
2 - Automatic Transmission Input Shaft Speed (ISS) Sensor
3 - Automatic Transaxle Assembly
4 - Transmission Connector
5 - Park/Neutral Position (PNP) Switch
6 - Starter

Automatic Transmission Components (LAY with MVB)




1 - Automatic Transmission Input Shaft Speed (ISS) Sensor
2 - Transmission Connector
3 - Park/Neutral Position (PNP) Switch

Engine Components (LAY)




1 - Ignition Coil
2 - Camshaft Position (CMP) Actuator Solenoid Valve Bank 2 Intake
3 - Camshaft Position (CMP) Actuator Solenoid Valve Bank 2 Exhaust
4 - Camshaft Position (CMP) Sensor - Bank 2 Intake
5 - Camshaft Position (CMP) Sensor - Bank 2 Exhaust
6 - Heated Oxygen Sensor (H02S) Bank 1 Sensor 1
7 - Park/Neutral Position (PNP) Switch
8 - Engine Coolant Temperature (ECT) Sensor
9 - Throttle Body
10 - Knock Sensor (KS)
11 - Crankshaft Position (CKP) Sensor
12 - Intake Manifold
13 - Fuel Injector

Engine Components (LAX)




1 - Exhaust Manifold Heat Insulator
2 - Ignition Coil
3 - Camshaft Position (CMP) Actuator Solenoid Valve - Bank 2 Intake
4 - Fuel Injector
5 - Knock Sensor (KS)
6 - Camshaft Position (CMP) Sensor
7 - Throttle Body
8 - Engine Coolant Temperature (ECT) Sensor
9 - Park/Neutral Position (PNP) Switch
10 - Heated Oxygen Sensor (H02S) Bank 1 Sensor 2
11 - Heated Oxygen Sensor (H02S) Bank 1 Sensor 1
12 - Exhaust Manifold Converter
13 - Crankshaft Position (CKP) Sensor

Heated Oxygen Sensor Components (LAX with F46)




1 - Heated Oxygen Sensor (H02S) Bank 1 Sensor 2
2 - Center Exhaust Pipe

Heated Oxygen Sensor Components (LAX without F46)




1 - Heated Oxygen Sensor (H02S) Bank 1 Sensor 2
2 - Front Exhaust Pipe

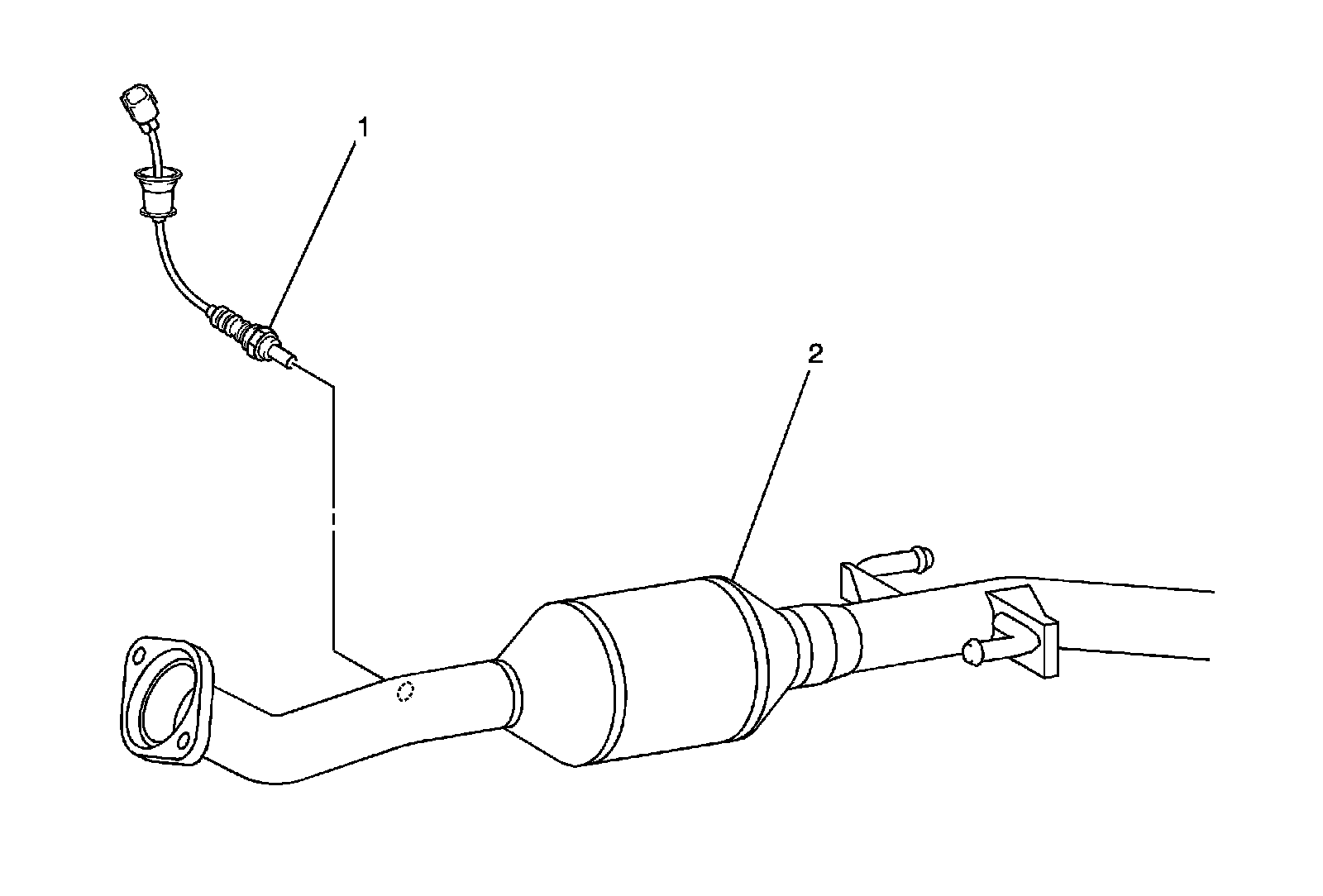
Heated Oxygen Sensor Components (LAY)




1 - Front Exhaust Pipe
2 - Heated Oxygen Sensor (H02S) Bank 1 Sensor 2

Manual Transmission Components (LAX with MVC)




1 - Manual Transaxle Case
2 - Backup Lamp Switch
3 - Control Shift Lever
4 - Manual Transmission Case Cover
5 - Manual Transmission Case
6 - Starter

Manual Transmission Components (LAY with MVE)




1 - Manual Transaxle Case
2 - Backup Lamp Switch
3 - Control Shift Lever
4 - Manual Transmission Case Cover
5 - Manual Transmission Case
6 - Floor Shift Control Shift Lever
7 - Selecting Bellcrank Assembly

Oil Pressure Switch Components




1 - Engine (LAX)
2 - Engine Coolant Temperature (ECT) Sensor
3 - Engine Oil Pressure (EOP) Switch
4 - Engine (LAY)