lemon-mirror:
Home >> Pontiac >> 2010 >> G6 L4-2.4L >> Repair and Diagnosis >> Powertrain Management >> Computers and Control Systems >> Oxygen Sensor >> Locations >> Disassembled Views

Disassembled Views




Disassembled Views

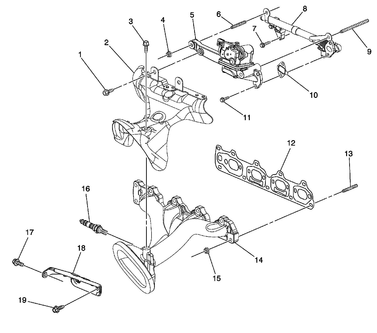
Exhaust Manifold and Components




1 - Exhaust Manifold Heat Shield Bolt
2 - Exhaust Manifold Heat Shield
3 - Exhaust Manifold Heat Shield Bolt
4 - Secondary Air Injection Assembly Nut
5 - Secondary Air Injection Assembly
6 - Secondary Air Injection Check Stud
7 - Secondary Air Injection Bolt
8 - Secondary Air Injection Pipe Assembly
9 - Secondary Air Injection Stud
10 - Secondary Air Injection Check Valve Gasket
11 - Secondary Air Injection Bolt
12 - Exhaust Manifold Gasket
13 - Exhaust Manifold Stud
14 - Exhaust Manifold
15 - Exhaust Manifold Nut
16 - Oxygen Sensor
17 - Exhaust Manifold Brace Bolt
18 - Exhaust Manifold Brace
19 - Exhaust Manifold Brace Bolt