lemon-mirror:
Home >> Pontiac >> 2009 >> Solstice L4-2.4L >> Repair and Diagnosis >> Windows and Glass >> Windows >> Power Window Switch >> Locations

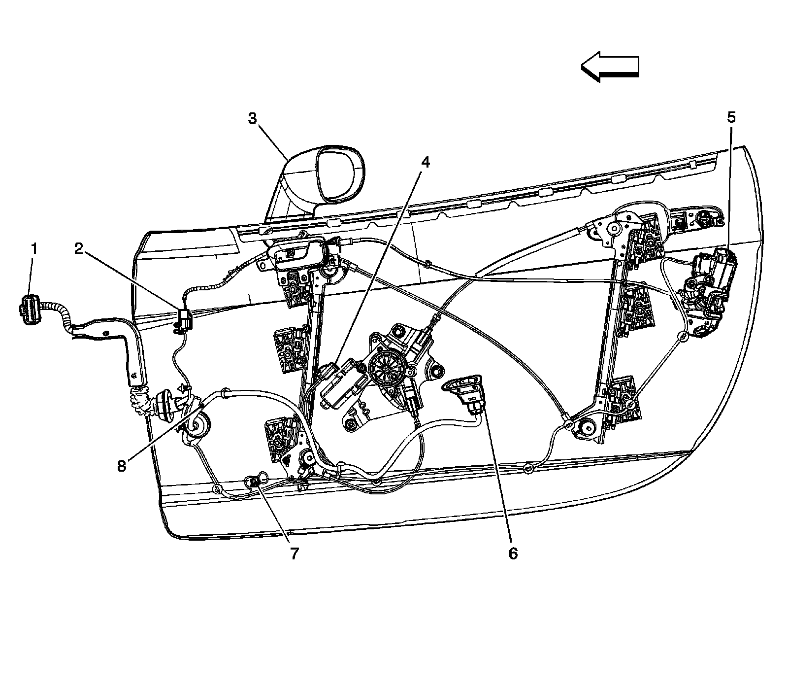
Power Window Switch: Locations




Harness Routing Views

Driver Door




10 - Window Switch - Driver

Harness Routing Views

Passenger Door




6 - Window Switch - Passenger