lemon-mirror:
Home >> Pontiac >> 2009 >> Solstice L4-2.4L >> Repair and Diagnosis >> Powertrain Management >> Computers and Control Systems >> Fuel Tank Pressure Sensor >> Locations

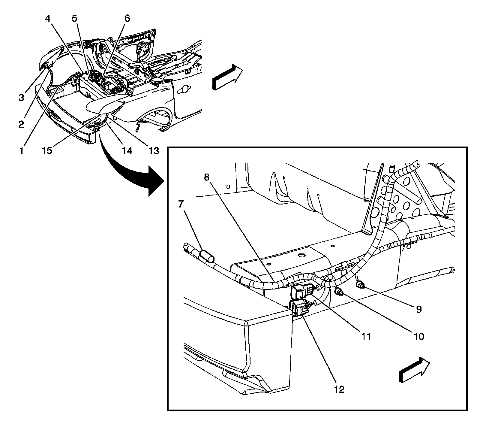
Fuel Tank Pressure Sensor: Locations




Powertrain Component Views

Rear Chassis Harness




4 - Fuel Tank Pressure Sensor