lemon-mirror:
Home >> Pontiac >> 2009 >> G8 V6-3.6L >> Repair and Diagnosis >> Powertrain Management >> Computers and Control Systems >> Relays and Modules - Computers and Control Systems >> Engine Control Module >> Diagrams >> Engine Control Module (ECM) X2

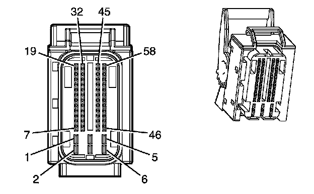
Engine Control Module (ECM) X2




Component Connector End Views

Engine Control Module (ECM) (LY7) X2