lemon-mirror:
Home >> Pontiac >> 2009 >> G3 L4-1.6L >> Repair and Diagnosis >> Diagrams >> Exploded Views >> Automatic Transmission/Transaxle >> Automatic Transmission Components

Automatic Transmission Components




Automatic Transmission Components

Oil Pump




1 - Oil Pump Body
2 - Oil Pump Drive Gear
3 - Oil Pump Driven Gear
4 - Stator Shaft
5 - Bolt

Direct Clutch




1 - Seal Ring
2 - Input Shaft Sub-Assembly
3 - O-Ring
4 - Piston
5 - O-Ring
6 - Return Spring
7 - Snap Ring
8 - Plate
9 - Disc
10 - Flange
11 - Snap Ring

Planetary Ring Gear




1 - Snap Ring
2 - Planetary Ring Gear Flange
3 - Planetary Ring Gear

One-Way Clutch




1 - Snap Ring
2 - One-Way Clutch
3 - Second Brake Hub
4 - Retainer

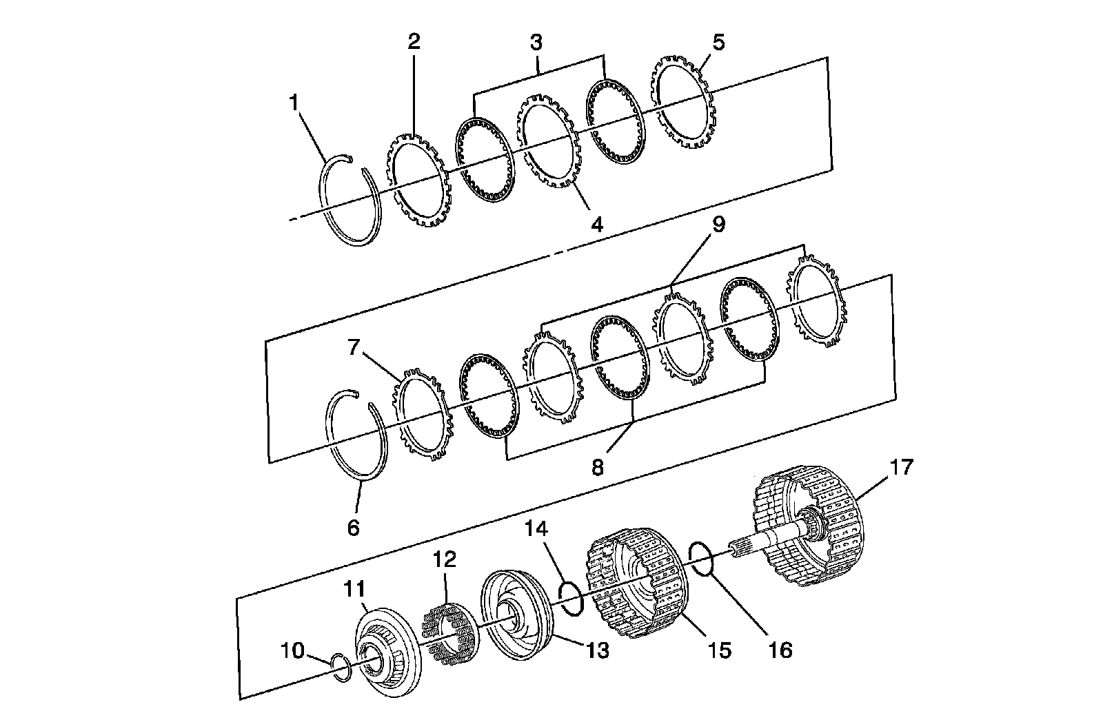
Forward and Reverse Clutch




1 - Seal Ring
2 - Flange
3 - Disc
4 - Plate
5 - Flange
6 - Snap Ring
7 - Flange
8 - Disc
9 - Plate
10 - Snap Ring
11 - Clutch Balancer
12 - Forward Clutch Return Spring
13 - Forward Clutch Piston
14 - O-Ring
15 - Forward Clutch Drum
16 - O-Ring
17 - Intermediate Shaft Sub-Assembly

Counter Driven Gear




1 - Outer Tapered Roller Bearing Race
2 - Tapered Roller Bearing
3 - Counter Drive Pinion
4 - Counter Driven Gear
5 - Tapered Roller Bearing
6 - Outer Tapered Roller Bearing Race

Valve Body 1 of 3




1 - Manual Valve
2 - Upper Valve Body
3 - Valve Body Plate
4 - Pressure Control Solenoid Valve
5 - Lower Valve Body
6 - Lock-Up Solenoid Valve
7 - Timing Solenoid Valve
8 - O-Ring
9 - O-Ring
10 - O-Ring
11 - No. 2 Solenoid Valve
12 - No. 1 Solenoid Valve

Valve Body 2 of 3




1 - Cover
2 - Gasket
3 - Cover Plate
4 - Gasket
5 - Check Ball
6 - Spring
7 - Check Valve
8 - Ball
9 - Spring
10 - Pressure Relief Valve Spring Seat

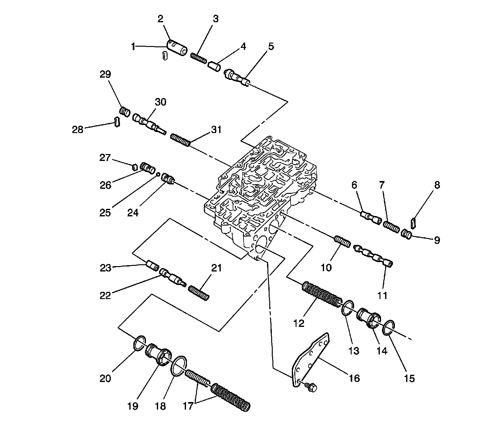
Valve Body 3 of 3




1 - Key
2 - Sleeve
3 - Spring
4 - Plunger
5 - Lock-Up Control Valve
6 - Reverse Control Valve
7 - Spring
8 - Key
9 - Plug
10 - Spring
11 - 3-4 Shift Valve
12 - Spring
13 - O-Ring
14 - Reverse Clutch Accumulator Piston
15 - O-Ring
16 - Upper Valve Body Cover
17 - Spring
18 - O-Ring
19 - Second Brake Accumulator Piston
20 - O-Ring
21 - Spring
22 - 3-4 Shift Timing Valve
23 - Plunger
24 - No. 1 Check Valve
25 - Ball
26 - No. 2 Check Valve
27 - Key
28 - Key
29 - Plug
30 - Secondary Regulator Valve
31 - Spring

During reassembly, please refer to the spring specifications below to help you to discriminate between the different springs.

Upper Valve Body Spring









Upper Valve Body Key









Upper Valve Body Check Ball









Lower Valve Body




1 - Key
2 - Spring
3 - 4-3 Shift Timing Valve
4 - Key
5 - Plug
6 - 2-3 Shift Valve
7 - Spring
8 - Key
9 - Plug
10 - 1-2 Shift Valve
11 - Spring
12 - Key
13 - Sleeve
14 - Plunger
15 - Spring
16 - Primary Regulator Valve
17 - Key
18 - Sleeve
19 - Plunger
20 - Spring
21 - Lock-Up Relay Valve
22 - Key
23 - Spring
24 - Solenoid Modulator Valve
25 - Solenoid Oil Strainer
26 - Lower Modulator Valve
27 - Spring
28 - Key

Lower Valve Body Spring









Lower Valve Body Key









Differential Case




1 - Differential Pinion Thrust Washer
2 - Differential Pinion Gear
3 - Differential Side Gear Thrust Washer
4 - Differential Side Gear
5 - Pin
6 - Differential Pinion Shaft
7 - Oil Seal
8 - Side Bearing Outer Race
9 - Tapered Roller Bearing
10 - Differential Case
11 - Differential Ring Gear
12 - Tapered Roller Bearing
13 - Side Bearing Outer Race
14 - Shim
15 - Oil Seal