lemon-mirror:
Home >> Pontiac >> 2009 >> G3 L4-1.6L >> Repair and Diagnosis >> Diagrams >> Components >> Front of Vehicle/Engine Compartment Component Views

Front of Vehicle/Engine Compartment Component Views




Front of Vehicle/Engine Compartment Component Views

Horns




1 - Horn

Front Turn Signal and Fog Lamps




1 - Turn Signal Lamp Assembly (Left Side Shown, Right Side Similar)
2 - Fog Lamp (Left Side Shown, Right Side Similar)
3 - Park/Turn Signal Lamp (North America - Left Side Shown, Right Side Similar)

Exterior Lamps




1 - Turn Signal Lamp Assembly - Front (Left Side Shown, Right Side Similar)
2 - Tail Lamp Assembly (Left Side Shown, Right Side Similar)
3 - Tail/Stop Lamps (Left Side Shown, Right Side Similar)
4 - Backup Lamp/Rear Fog Lamp (Left Side Shown, Right Side Similar)
5 - Turn Signal Lamp - Rear (Left Side Shown, Right Side Similar)
6 - Side Marker Lamp - Rear (Left Side Shown, Right Side Similar)
7 - Park/Turn Signal Lamp - Front (Left Side Shown, Right Side Similar)
8 - Side Marker Lamp - Front (Left Side Shown, Right Side Similar)
9 - Turn Signal Repeater Lamp (Left Side Shown, Right Side Similar)

Headlamps




1 - Headlamp (Right Side Shown, Left Similar)

Wiper and Washer Components




1 - Wiper Motor - Rear
2 - Windshield Wiper Motor
3 - Windshield/Washer Fluid Pump - Front
4 - Windshield/Washer Fluid Pump - Rear

ABS Component Location




1 - Brake Fluid Sensor
2 - Front Wheel Speed Sensor - Left
3 - Electronic Brake Control Module (EBCM) and Brake Pressure Modulator Valve (BPMV)
4 - Engine Compartment Fuse Block
5 - Lamp Driver Module
6 - Front Wheel Speed Sensor - Right

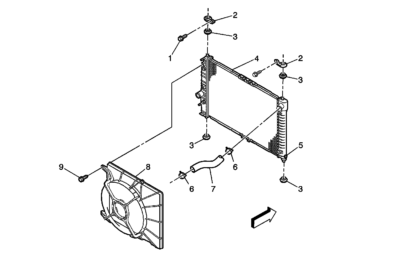
Radiator/Fan (Single)




1 - Bolt
2 - Radiator Bracket
3 - Radiator Bumper
4 - Radiator
5 - Drain Cock
6 - Spring Clamp
7 - Upper Radiator Hose
8 - Cooling Fan
9 - Bolt

Radiator/Fan (Dual)




1 - Bolt
2 - Radiator Bumper
3 - Radiator Bracket Bolt
4 - Radiator Bracket
5 - Radiator
6 - Drain Cock
7 - Upper Radiator Hose
8 - Cooling Fan (Main)
9 - Cooling Fan (Auxiliary)

Generator and Starter




1 - Generator
2 - Starter

A/C Compressor




1 - A/C Compressor Clutch
2 - A/C Refrigerant Pressure Sensor

Content Theft Components




1 - Door Latch Left - Right Similar
2 - Theft Deterrent Alarm
3 - Lock Cylinder Switch - Rear Compartment Lid

North America Vehicles




1 - Inflatable Restraint Steering Wheel Module Coil
2 - Inflatable Restraint Steering Wheel Module
3 - Inflatable Restraint I/P Module
4 - Inflatable Restraint Sensing and Diagnostic Module (SDM)
5 - Occupant Classification (OC) Sensor
6 - Inflatable Restraint Side Impact Sensor (Left Hand Shown, Right Side Similar)
7 - Inflatable Restraint Side Impact Module (Left Side Shown, Right Side Similar)
8 - Inflatable Restraint Front End Sensor (Left Hand Shown, Right Side Similar)

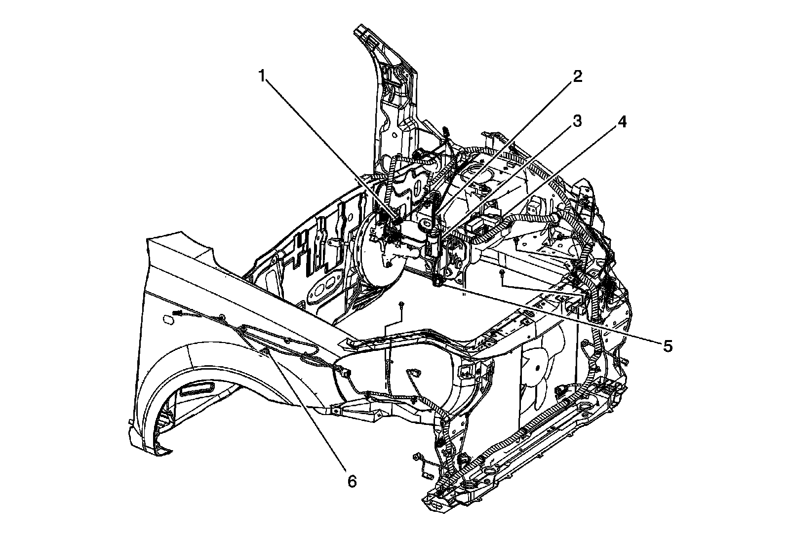
Front of Vehicle




1 - Hood Ajar Switch (Except North America)