lemon-mirror:
Home >> Pontiac >> 2008 >> G8 V6-3.6L >> Repair and Diagnosis >> Diagrams >> Connector Views >> Engine Control Module

Engine Control Module



Component Connector End Views

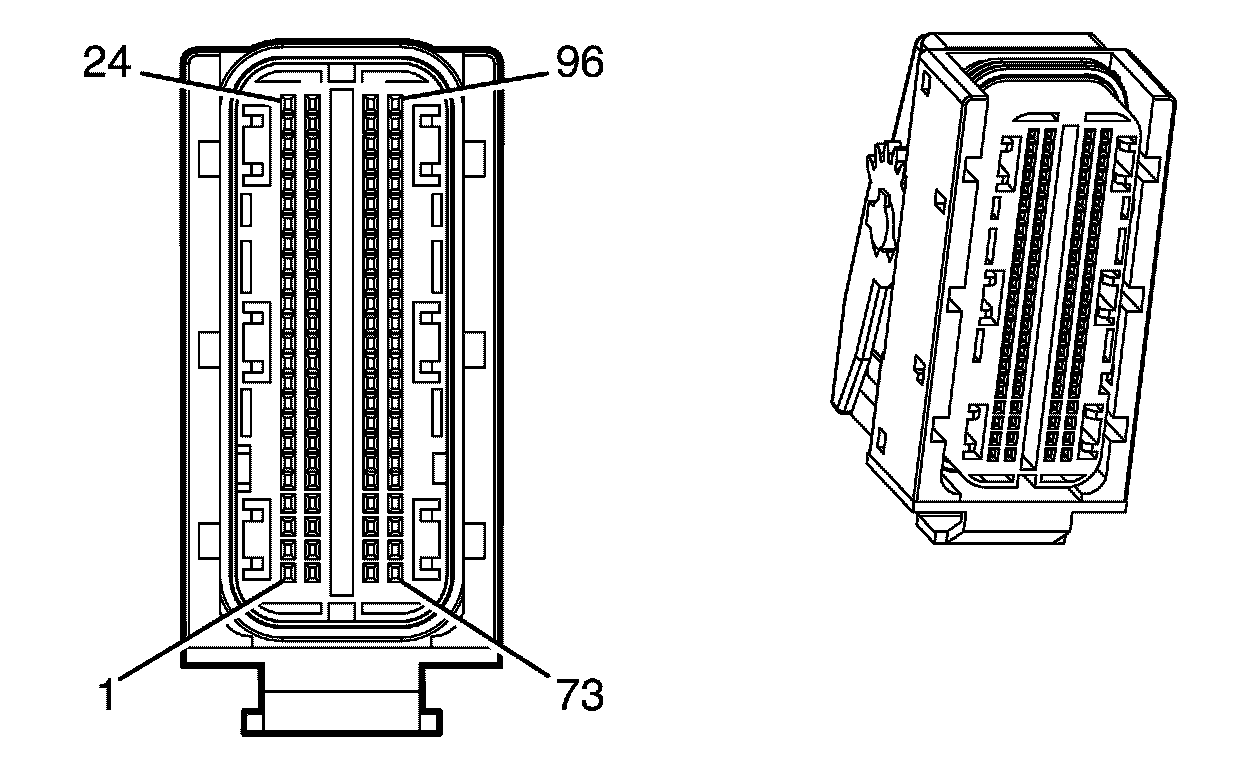
Engine Control Module (ECM) (L76) X1

















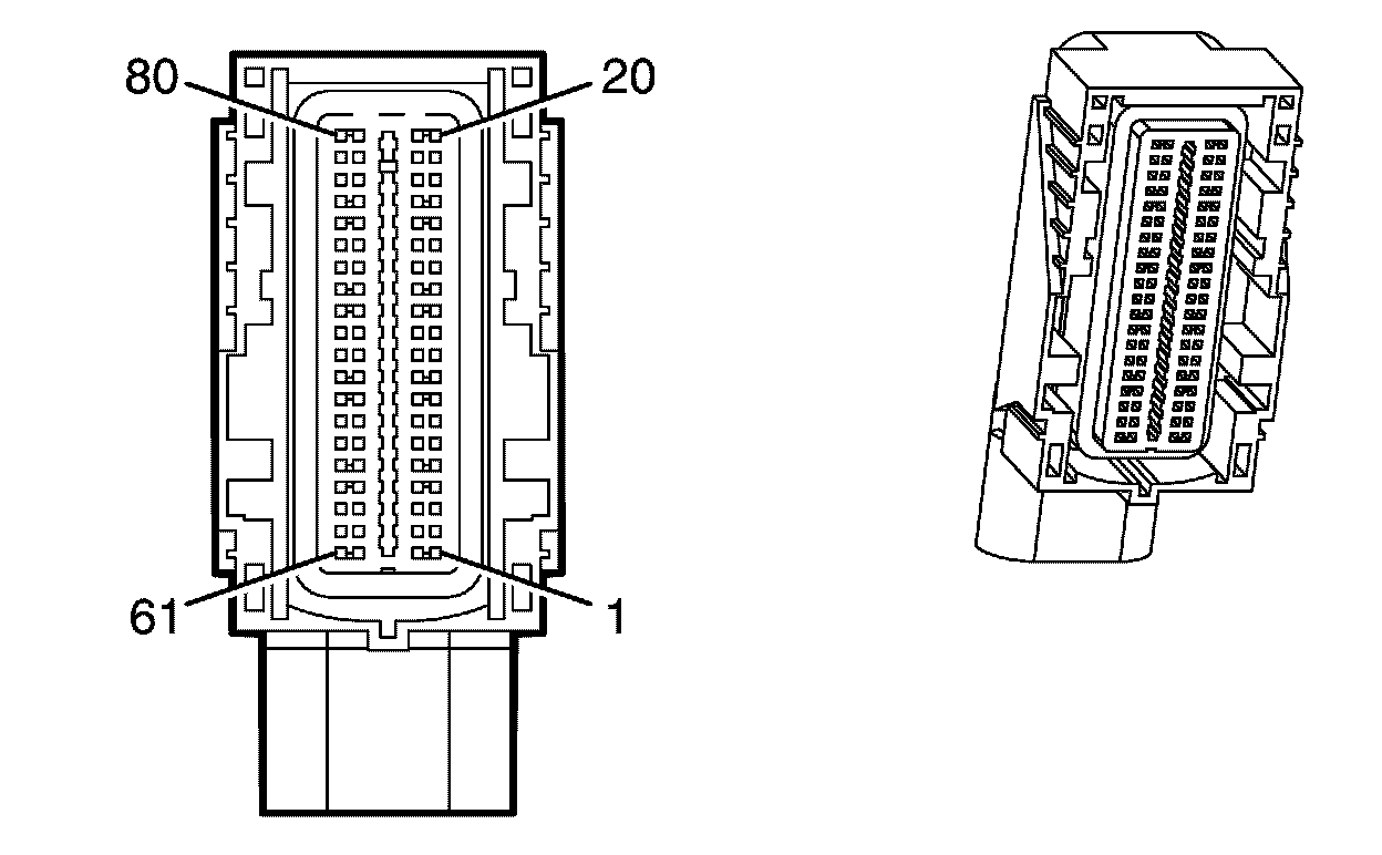
Engine Control Module (ECM) (L76) X2

















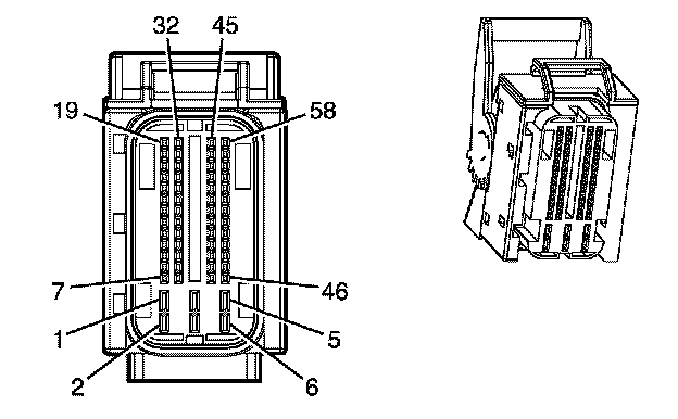
Engine Control Module (ECM) (LY7) X1

















Engine Control Module (ECM) (LY7) X2