lemon-mirror:
Home >> Pontiac >> 2008 >> G8 V6-3.6L >> Repair and Diagnosis >> Diagrams >> Connector Views >> Air Bag Control Module

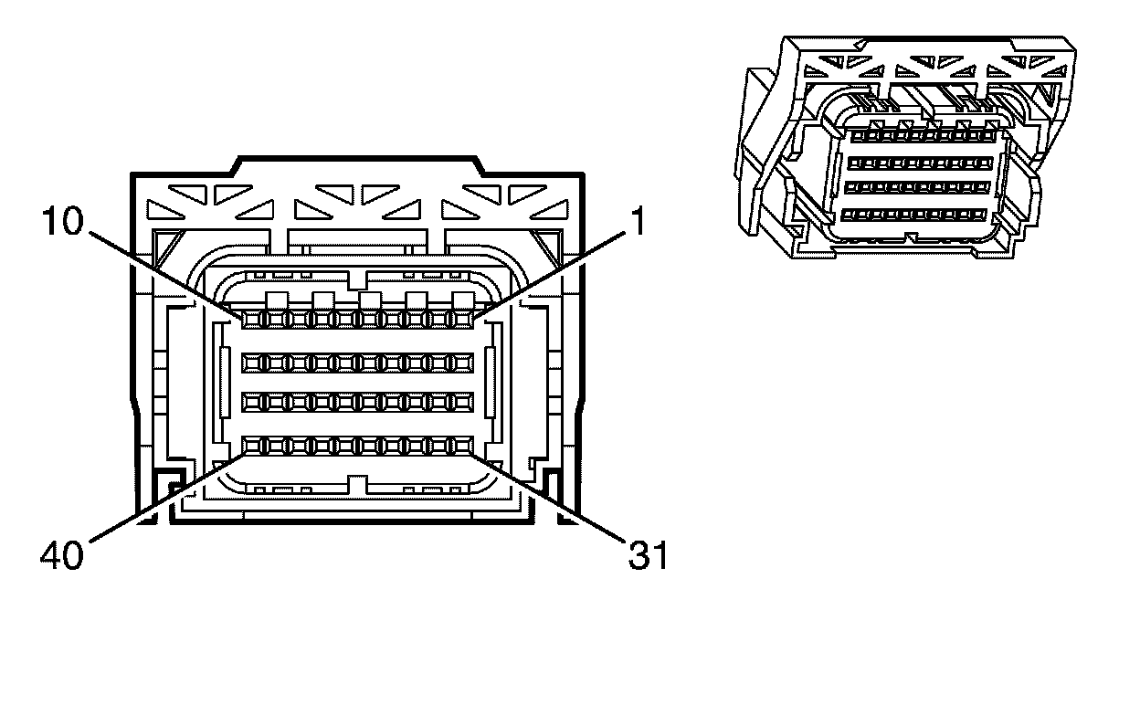
Air Bag Control Module



Component Connector End Views

Inflatable Restraint Sensing and Diagnostic Module (SDM) X1














Inflatable Restraint Sensing and Diagnostic Module (SDM) X2