lemon-mirror:
Home >> Pontiac >> 2008 >> G8 V6-3.6L >> Repair and Diagnosis >> Diagrams >> Components >> Instrument Panel/Center Console Component Views

Instrument Panel/Center Console Component Views



Instrument Panel/Center Console Component Views

Security Warning Lamp, Ignition key (Transponder), Theft Deterrent Module (TDM), Engine Control Module (ECM) and Body Control Module (BCM)




1 - Security Warning Lamp
2 - Ignition Key (Transponder)
3 - Theft Deterrent Module (TDM)
4 - Engine Control Module (ECM)
5 - Body Control Module (BCM)

Park Brake Subsystem Components




1 - Park Brake Assembly
2 - Park Brake Switch
3 - Park Brake Switch Electrical Connector

Dual Zone - View From Passenger Side




1 - Evaporator Temperature Sensor
2 - Evaporator Core
3 - Evaporator Temperature Sensor Connector
4 - Recirculation Actuator
5 - HVAC Control Module
6 - Blower Motor
7 - Blower Motor Control Processor
8 - Air Temperature Actuator - Right

Dual Zone - I/P Components




1 - Inside Air Temperature Sensor
2 - Inside Air Temperature Sensor Vent
3 - Infotainment Unit (Incorporates HVAC Controls)

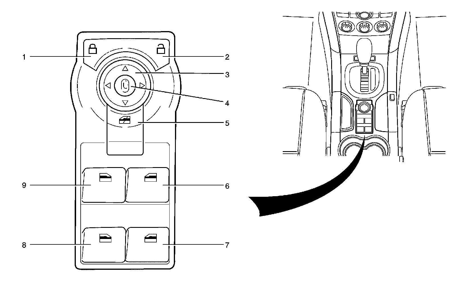
Door Switches




1 - Door Lock Switch
2 - Door Unlock Switch
3 - Mirror Direction Switch
4 - Mirror Selection Switch
5 - Window Lock Switch
6 - R/H Front Window Switch
7 - R/H Rear Window Switch
8 - L/H Rear Window Switch
9 - L/H Front Window Switch

Dual Zone - View From Passenger Side




1 - Evaporator Temperature Sensor
2 - Evaporator Core
3 - Evaporator Temperature Sensor Connector
4 - Recirculation Actuator
5 - HVAC Control Module
6 - Blower Motor
7 - Blower Motor Control Processor
8 - Air Temperature Actuator - Right

Dual Zone - View From Drivers Side




1 - Mode Actuator
2 - Inside Air Temperature Sensor Venturi
3 - Air Temperature Lever- Rear
4 - Mode Door Actuator - Auxiliary
5 - Air Temperature Actuator - Left

Dual Zone - I/P Components




1 - Inside Air Temperature Sensor
2 - Inside Air Temperature Sensor Vent
3 - Infotainment Unit (Incorporates HVAC Controls)

View From Drivers Side




1 - Mode Actuator
2 - Air Temperature Lever - Rear
3 - Mode Door Actuator - Auxiliary
4 - Air Temperature Actuator - Left

I/P Components




1 - Infotainment Unit (Incorporates HVAC Controls)

View From Passenger Side




1 - Evaporator Temperature Sensor
2 - Evaporator Core
3 - Evaporator Temperature Sensor Connector
4 - Recirculation Actuator
5 - HVAC Control Module
6 - Blower Motor
7 - Blower Motor Control Processor