lemon-mirror:
Home >> Pontiac >> 2008 >> G6 L4-2.4L >> Repair and Diagnosis >> Diagrams >> Connector Views >> Electronic Brake Control Module

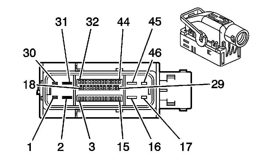
Electronic Brake Control Module



Component Connector End Views

Electronic Brake Control Module (EBCM) (FX3)














Electronic Brake Control Module (EBCM) (-FX3)