lemon-mirror:
Home >> Pontiac >> 2008 >> G6 L4-2.4L >> Repair and Diagnosis >> Diagrams >> Connector Views >> Control Module, A/T

Control Module, A/T



Component Connector End Views - Continued

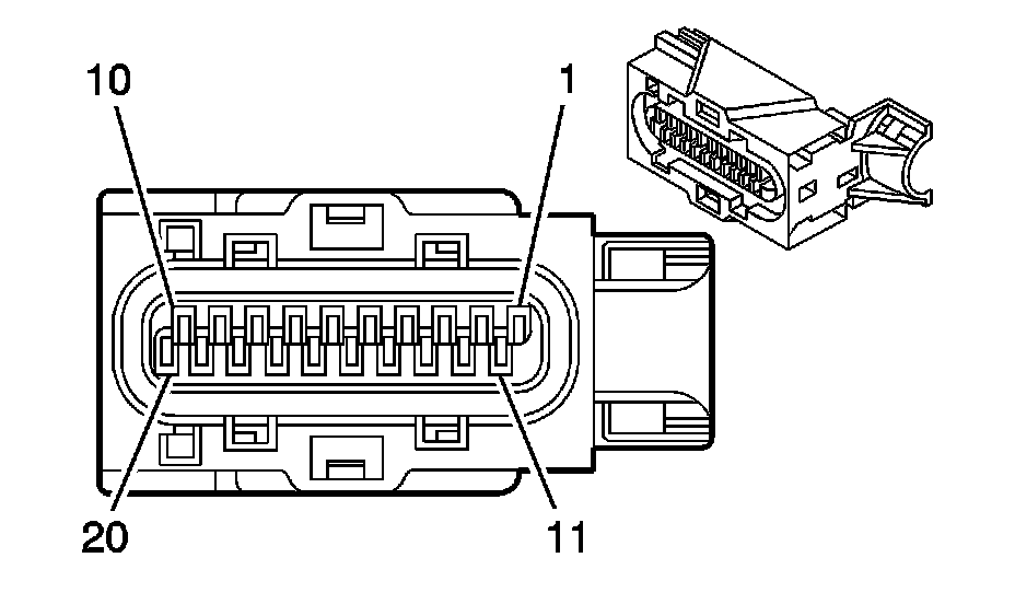
Transmission Control Module (TCM) (M15)














Transmission Control Module (TCM) (MH2)














Transmission Control Module (TCM) (MN5)









Transmission Control Module (TCM) (MN5) (Pin 1 To 31):





Transmission Control Module (TCM) (MN5) (Pin 32 To 49):