lemon-mirror:
Home >> Pontiac >> 2008 >> G6 L4-2.4L >> Repair and Diagnosis >> Body and Frame >> Locks >> Service and Repair

Locks: Service and Repair



Key and Lock Cylinder Coding

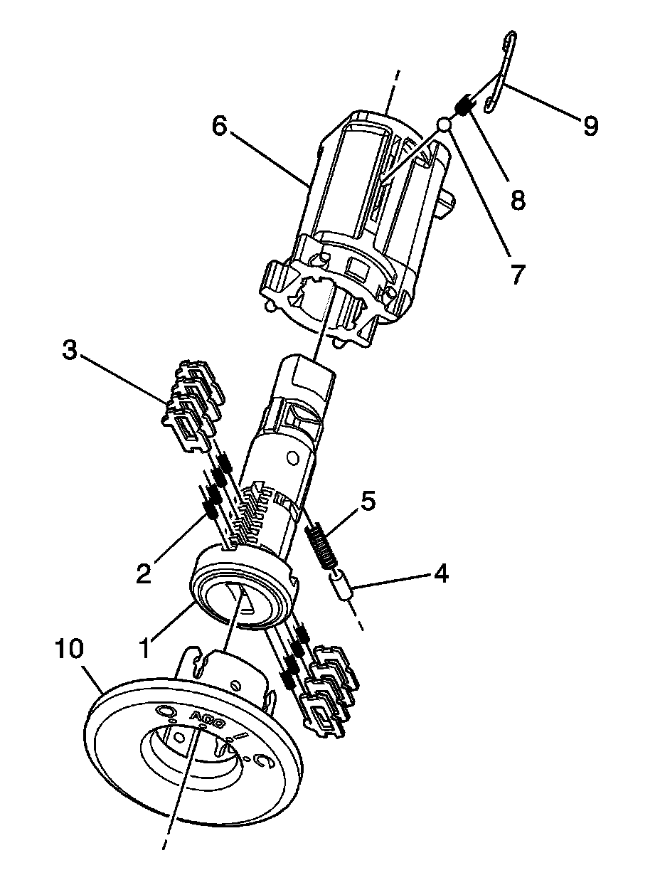
Ignition Lock Cylinder

The instrument panel (I/P) ignition lock cylinder uses 8 of the 10 key cut positions, 1-8 when counting from the key head. The tumbler orientations alternate in adjacent locations from side to side with 4 on each side.






Caution: Wear safety glasses in order to avoid eye damage.

Important: The ignition lock cylinder tumblers (3) are not self-retaining and must be held in place if the key is not fully inserted into the lock cylinder or until the cylinder (1) is assembled into the case assembly (6).

1. Hold the uncoded cylinder assembly (1) positioned so the side with the retention lug is facing upward.
2. Insert one tumbler spring (2) each into the 4 tumbler spring holes.
3. The first tumbler to be loaded will be key cut position 2, the second number in the key code. Determine the cut depth at this position and install the corresponding tumbler (3) into the tumbler slot nearest the front of the cylinder assembly (1), the end where the key is inserted. It may be necessary to move the sidebar, already pre-assembled into the uncoded cylinder assembly, out slightly to fully install the tumbler into the correct slot.
4. In the same manner, determine the cut depth and corresponding tumbler and install the 3 remaining tumblers (3) into the tumbler slots located at key cut positions 4, 6, and 8.
5. Check for correct loading by holding the tumblers (3) in position and fully inserting the matching key into the cylinder assembly (1). All tumblers and the sidebar should be flush with the outside diameter of the cylinder assembly.
6. Rotate the cylinder assembly (1) so that the side with the retaining pin (4) hole is facing upward and then remove the matching key. Remember the tumblers (3) are not self-retaining and must be held in place.
7. Insert one tumbler spring (2) each into the 4 tumbler spring holes.
8. The first tumbler to be loaded will be key cut position 1. Determine the cut depth at this position and install the corresponding tumbler (3) into the tumbler slot nearest the front of the cylinder assembly.
9. In the same manner, determine the cut depth and corresponding tumbler and install the 3 remaining tumblers (3) into the slots located at key cut positions 3, 5, and 7.
10. Check for correct loading by holding the tumblers (3) in position and fully inserting the matching key into the cylinder assembly (1). All tumblers and the sidebar should be flush with the outside diameter of the cylinder assembly.
11. Lightly lubricate the tumbler (3) surfaces and the small detent recess on the side of the cylinder assembly (1) using the lubrication provided.
12. With the matching key fully inserted into the coded cylinder assembly, rotate the cylinder so that the side with the retaining pin (4) hole is facing upward.
13. Insert one retaining pin spring (5) and then one retaining pin (4) into the hole located behind the 4 tumblers. The retaining pin spring and retaining pin are not self-retaining and must be held in place until the coded cylinder is installed into the case assembly (6).

Caution: Wear safety glasses in order to avoid eye damage.

14. With the matching key fully inserted into the coded cylinder assembly and the retaining pin (4) fully depressed into the cylinder, align the retaining lug on the cylinder with the groove on the inside diameter of the case assembly (6). This groove extends the full length of the case assembly.
15. Install the coded cylinder assembly into the case assembly (6) being careful to hold the retaining pin spring (5) and retaining pin (4) in the cylinder until the retaining pin spring and retaining pin enter the case assembly. With the cylinder fully inserted into the case assembly, rotate the cylinder counterclockwise until the retaining pin snaps into place limiting the rotation of the cylinder assembly.
16. With the coded cylinder assembly in the Off-Lock position, insert the detent ball (7), if equipped, and detent spring (8) into the hole in the side of the case assembly (6). Install the anti-rattle spring (9) into the case assembly over the detent spring. The anti-rattle spring should capture the detent ball and spring in the case assembly. Make sure both ends of the anti-rattle spring (9) are fully seated, pressed into, the case assembly.
17. Remove the matching key and install the ignition cylinder bezel (10) onto the case assembly (6). Make sure the retaining clips of the ignition cylinder bezel are correctly positioned and fully snapped onto the case assembly.

Front Side Door Lock Cylinder

The front side door lock cylinder uses 8 of the 10 key cut positions, 3-10 when counting from the key head. The tumbler orientations alternate in adjacent locations from side to side with 4 on each side.






Important: The front side door lock cylinder tumblers (3) are not self-retaining and must be held in place if the key is not fully inserted into the lock cylinder or until the cylinder (1) is assembled into the case assembly (6).

1. Hold the uncoded cylinder assembly (1) positioned so the side with the rotational stop lug is facing upward, as shown.
2. Insert one tumbler spring (2) each into the 4 tumbler spring holes.
3. The first tumbler to be loaded will be key cut position 3, the third number in the key code. Determine the cut depth at this position and install the corresponding tumbler (3) into the tumbler slot nearest the front of the lock cylinder assembly, the end where the key is inserted.
4. In the same manner, determine the cut depth and corresponding tumbler and install the 3 remaining tumblers (3) into the tumbler slots located at key cut positions 5, 7, and 9.
5. Check for correct loading by holding the tumblers (3) in position and fully inserting the matching key into the cylinder (1). All tumblers should be flush with the outside diameter of the cylinder.
6. Rotate the cylinder (1) so that the side with the rotational stop lug is facing downward and then remove the matching key. Remember the tumblers (3) are not self-retaining and must be held in place.
7. Insert one tumbler spring (2) each into the 4 tumbler spring holes.
8. The first tumbler to be loaded will be key cut position 4. Determine the cut depth at this position and install the corresponding tumbler (3) into the tumbler slot nearest the front of the cylinder.
9. In the same manner, determine the cut depth and corresponding tumbler and install the 3 remaining tumblers (3) into the slots located at key cut positions 6, 8, and 10.
10. Check for correct loading by holding the tumblers (3) in position and fully inserting the matching key into the cylinder (1). All tumblers should be flush with the outside diameter of the cylinder assembly.
11. Lightly lubricate the tumbler (3) surfaces using the lubrication provided.
12. Hold the case assembly (4) with the pre-staked detent spring retainer facing downward.
13. First insert one detent spring (5) and then one detent ball (6) into the detent spring hole located to the rear and inside of the cylinder case assembly (4). The detent spring and detent ball are not self-retaining and must be held in place until the coded cylinder is installed into the case assembly.

Caution: Wear safety glasses in order to avoid eye damage.

14. With the matching key fully inserted into the coded cylinder, install the coded cylinder into the case assembly (4). Make sure the detent spring (5) and the detent ball (6) are held in place until the coded cylinder is fully installed. The detent ball should line up with the V-shaped groove on the rear of the cylinder, which will prevent the detent spring and detent ball from falling out of the case assembly.
15. Remove the matching key being careful to keep the coded cylinder (1) fully inserted into the case assembly (4).
16. Insert one shutter spring (7) each into the two shutter spring holes located on the front face of the cylinder (1).
17. Install the shutter assembly (8) into the recessed area on the front face of the cylinder (1). Be sure that the ends of the pin on the shutter assembly are positioned in the pin cavities located in the front face of the cylinder.
18. Install the lock cylinder cap (9) by aligning the drain hole in the cap with the bottom of the case assembly (4). Snap the cap into place with light hand pressure. Be sure the cap is securely retained on the case assembly. Also, be sure that the shutter springs (7) push the shutter assembly (8) up against the inside surface of the cap.
19. Install the lever (10) onto the end of the cylinder (1).
20. Install the retaining ring (11) in the groove at the end of the cylinder (10) to secure the lever (10) to the cylinder.

Rear Compartment Lid Lock Cylinder

The rear compartment lid lock cylinder uses 8 of the 10 key cut positions, 3-10 when counting from the key head. The tumbler orientations alternate in adjacent locations from side to side with 4 on each side.






Important: The rear compartment lid lock cylinder tumblers (3) are not self-retaining and must be held in place if the key is not fully inserted into the lock cylinder or until the cylinder (1) is assembled into the case (4).

1. Hold the uncoded cylinder (1) positioned so the side with the drain hole is facing downward.
2. Insert one tumbler spring (2) each into the 4 tumbler spring holes.
3. The first tumbler to be loaded will be key cut position number 3, the third number in the key code. Determine the cut depth at this position and install the corresponding tumbler (3) into the tumbler slot nearest the front of the cylinder (1), the end where the key is inserted.
4. In the same manner, determine the cut depth and corresponding tumbler and install the 3 remaining tumblers (3) into the tumbler slots located at key cut positions 5, 7, and 9.
5. Check for correct loading by holding the tumblers (3) in position and fully inserting the matching key into the cylinder (1). All tumblers should be flush with the outside diameter of the cylinder.
6. Rotate the cylinder (1) so that the side with the drain hole is facing upward and then remove the matching key. Remember the tumblers (3) are not self-retaining and must be held in place.
7. Insert one tumbler spring (2) each into the 4 tumbler spring holes.
8. The first tumbler to be loaded will be key cut position number 4. Determine the cut depth at this position and install the corresponding tumbler (3) into the open tumbler slot nearest the front of the cylinder.
9. In the same manner, determine the cut depth and corresponding tumbler and install the 3 remaining tumblers into the tumbler slots located at key cut positions 6, 8, and 10.
10. Check for correct loading by holding the tumblers (3) in position and fully inserting the matching key into the cylinder (1). All tumblers should be flush with the outside diameter of the cylinder.
11. Lightly lubricate tumbler (3) surfaces using the lubrication provided.
12. With the matching key fully inserted into the coded cylinder, install the coded cylinder into the case (4).
13. Remove the matching key being careful to keep the coded cylinder (1) fully inserted into the case (4).
14. Insert one shutter spring (5) each into the 2 shutter spring holes located on the front face of the cylinder (1).
15. Install the shutter assembly (6) into the recessed area on the front face of the cylinder (1). Be sure that the ends of the pin on the shutter assembly are positioned in the pin cavities located in the front face of the cylinder.

Important: Be careful not to scratch or dent the cosmetic surface of the cap or damage the lock cylinder in any way while staking the cap.

16. Stake the cap (7) onto the head of the case (4) by using the appropriate staking tool BO-48370. Ensure proper orientation and set the cylinder assembly (14), (which includes the case (4), coded cylinder (1), shutter springs (5), and shutter assembly (6)) and the cap (7) into the staking cup (15) and clamp into vise. Remove any debris and install the cleaned staking ram (16) into staking cup (15) and with a dead blow hammer, hit the staking ram (16) with moderate force 2 or 3 times. Check to determine if cap is securely staked to the cylinder assembly (14). Repeat previous step until cap is securely staked to the cylinder assembly. Remove assembly from the staking cup (15). If necessary, insert the removal punch (17) into the opposite end of the staking cup and tap lightly. Confirm that the shutter springs (5) push the shutter assembly (6) up against the inside surface of the cap (7).




17. Install the gasket (8) over the end of the cylinder assembly and slide it all the way up the case (4) until it seats behind the cap (7).
18. Install the return spring (9) over the back end of the cylinder (1) with the straight hook facing the rear of the case (4). Engage the straight hook of the return spring with the hook feature on the rear of the case.
19. Install the spacer (10) and lever (11) onto the end of the cylinder (1).
20. Install the retaining ring (12) in the groove at the end of the cylinder (1) to secure the lever (11) to the cylinder. Engage the bent hook of the return spring (9) with the lever.
21. Install the theft deterrent switch (13) onto the end of the cylinder (1) and snap the switch legs onto the case (4). Be sure the theft deterrent switch is engaged with the end of the cylinder and is securely attached to the case.
22. Check the operation of the lock assembly. The return spring (9) should provide a counterclockwise snap back.