lemon-mirror:
Home >> Pontiac >> 2007 >> Grand Prix V6-3.8L >> Repair and Diagnosis >> Powertrain Management >> Computers and Control Systems >> Engine Control Module >> Diagrams >> Connector Views

Connector Views



Powertrain Control Module Connector End Views

Powertrain Control Module (PCM) C1 (NU6)









Powertrain Control Module (PCM) C1 (NU6) (Pin 1 To 25):





Powertrain Control Module (PCM) C1 (NU6) (Pin 26 To 56):






Powertrain Control Module (PCM) C1 (w/o NU6)









Powertrain Control Module (PCM) C1 (w/o NU6) (Pin 1 To 21):





Powertrain Control Module (PCM) C1 (w/o NU6) (Pin 22 To 56):






Powertrain Control Module (PCM) C2 (NU6)









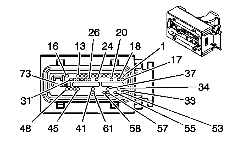
Powertrain Control Module (PCM) C2 (NU6) (Pin 1 To 16):





Powertrain Control Module (PCM) C2 (NU6) (Pin 17 To 73):






Powertrain Control Module (PCM) C2 (w/o NU6)









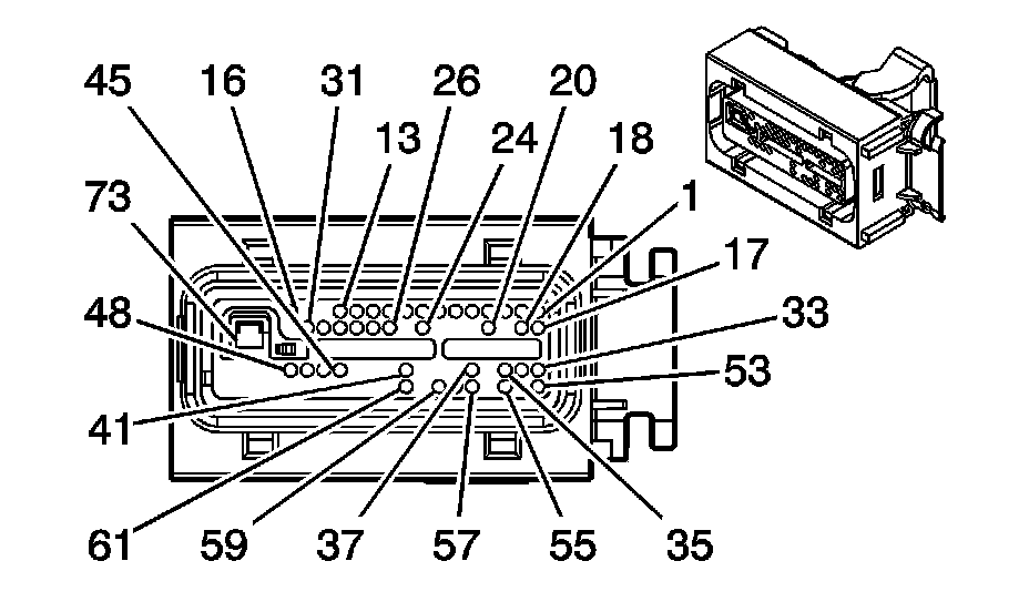
Powertrain Control Module (PCM) C2 (w/o NU6) (Pin 1 To 11):





Powertrain Control Module (PCM) C2 (w/o NU6) (Pin 12 To 73):






Powertrain Control Module (PCM) C3 (NU6)









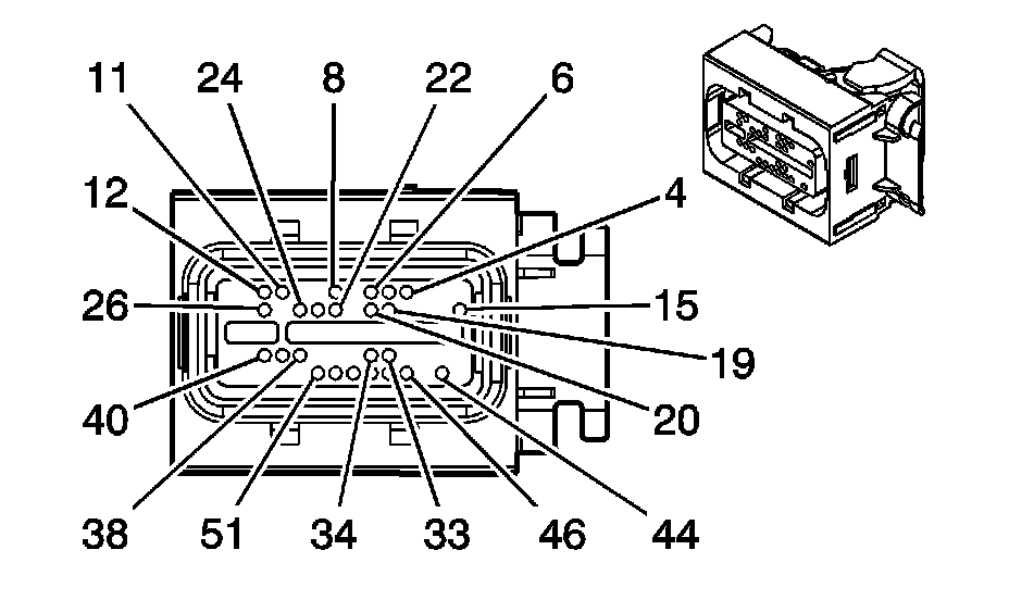
Powertrain Control Module (PCM) C3 (NU6) (Pin 1 To 26):





Powertrain Control Module (PCM) C3 (NU6) (Pin 27 To 56):






Powertrain Control Module (PCM) C3 (w/o NU6)









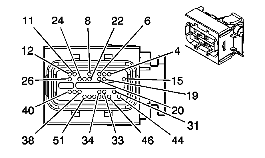
Powertrain Control Module (PCM) C3 (w/o NU6) (Pin 1 To 21):





Powertrain Control Module (PCM) C3 (w/o NU6) (Pin 22 To 56):