lemon-mirror:
Home >> Pontiac >> 2007 >> Grand Prix V6-3.8L >> Repair and Diagnosis >> Diagrams >> Connector Views >> Electronic Brake Control Module

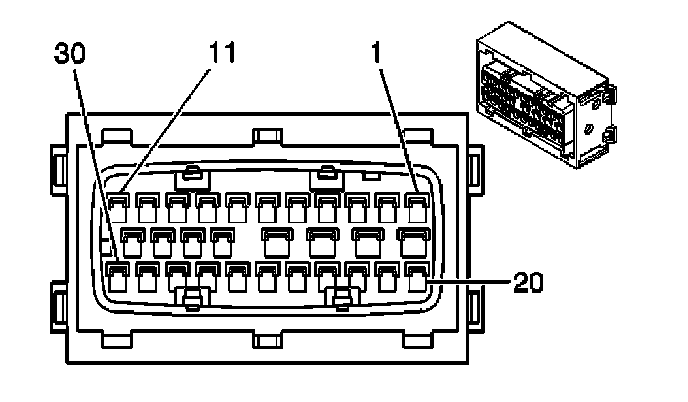
Electronic Brake Control Module



Antilock Brake System Connector End Views







Electronic Brake Control Module C1 (EBCM):