lemon-mirror:
Home >> Pontiac >> 2007 >> G6 V6-3.9L >> Repair and Diagnosis >> Diagrams >> Connector Views >> Engine Control Module

Engine Control Module



Engine Control Module Connector End Views

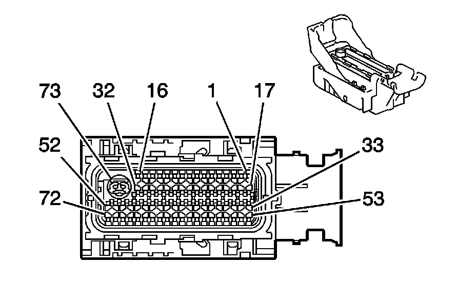
Engine Control Module (ECM) C1









Engine Control Module (ECM) C1 (Pin 1 To 29):





Engine Control Module (ECM) C1 (Pin 30 To 73):






Engine Control Module (ECM) C2









Engine Control Module (ECM) C2 (Pin 1 To 23):





Engine Control Module (ECM) C2 (Pin 24 To 80):