lemon-mirror:
Home >> Pontiac >> 2007 >> G5 L4-2.4L >> Repair and Diagnosis >> Powertrain Management >> Computers and Control Systems >> Engine Control Module >> Diagrams >> Connector Views

Connector Views





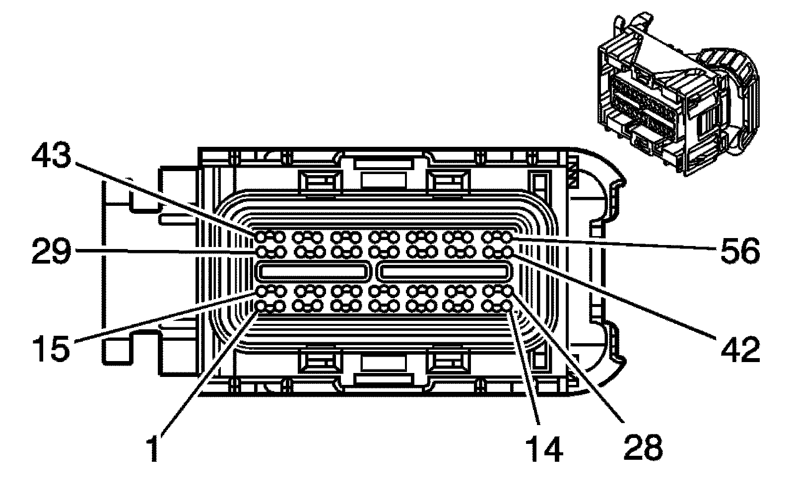
Engine Control Module

Engine Control Module (ECM) C1














Engine Control Module (ECM) C2


















Engine Control Module (ECM) C3