lemon-mirror:
Home >> Pontiac >> 2005 >> Grand AM L4-2.2L VIN F >> Repair and Diagnosis >> Powertrain Management >> Computers and Control Systems >> Body Control Module >> Diagrams >> Electrical Diagrams

Electrical Diagrams



Body Control System Diagram 1:




Body Control System Diagram 2:




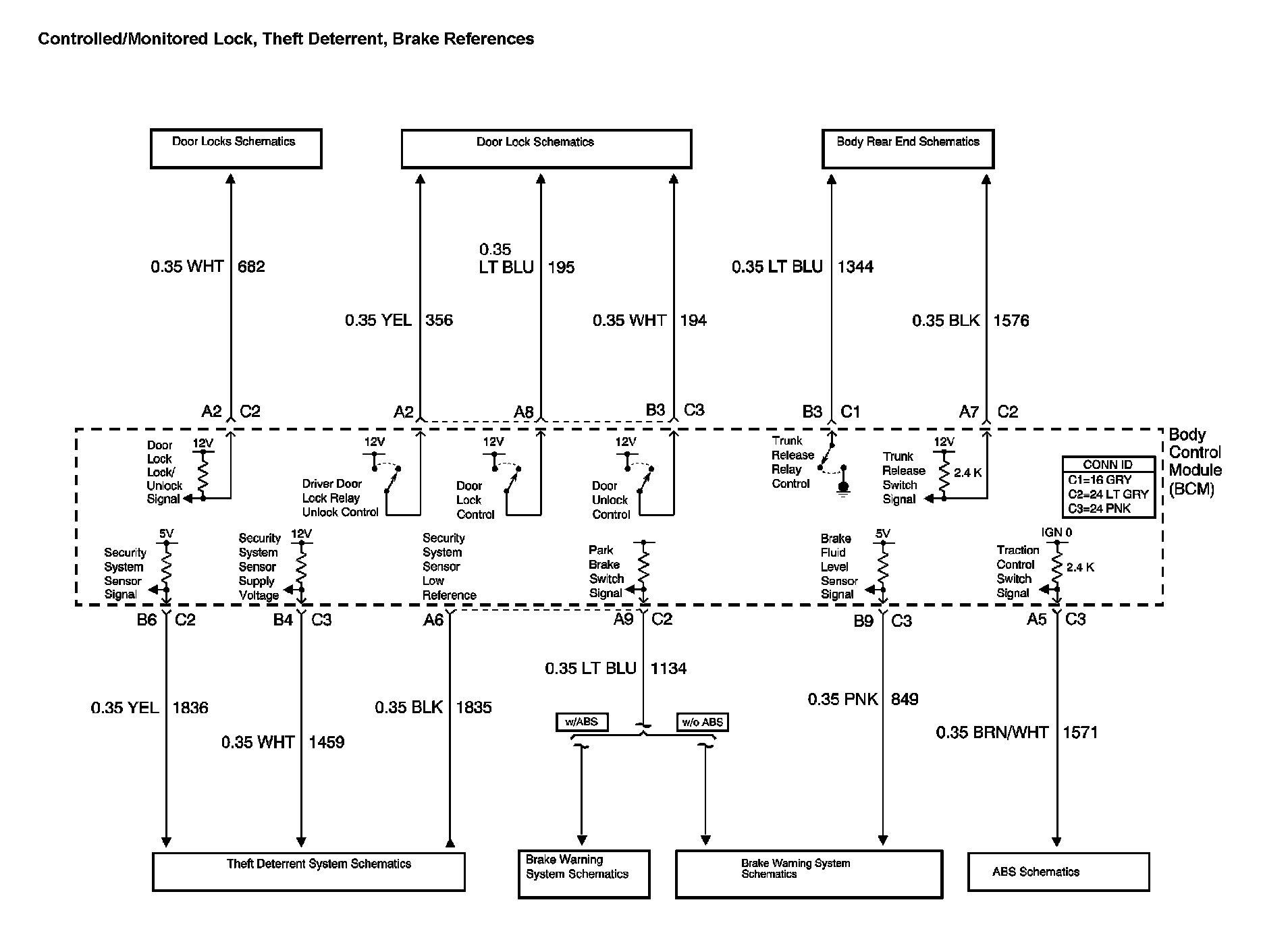
Body Control System Diagram 3:





Location: The locations for the Connectors, Grounds, Splices, and grommets shown within these diagrams can be found via their numbers at vehicle locations. Locations