lemon-mirror:
Home >> Pontiac >> 2005 >> Aztek AWD V6-3.4L VIN E >> Repair and Diagnosis >> Diagrams >> Exploded Views >> Transfer Case >> Transfer Case Assembly

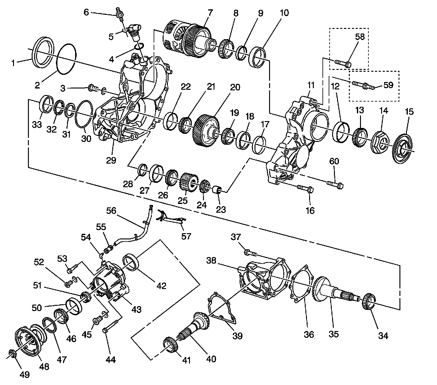
Transfer Case Assembly



Transfer Case Assembly

Transfer Case Assembly:





1 - Transfer Case Oil Ring
2 - O-Ring Seal
3 - Drain Plug
4 - O-Ring Seal
5 - Vehicle Speed Sensor
6 - Vehicle Speed Sensor Bolt
7 - Differential Carrier Assembly
8 - Bearing
9 - Shim
10 - Bearing Race
11 - Case-Right
12 - Bearing Race
13 - Bearing
14 - Nut
15 - Axle Shaft Oil Seal-Right Side
16 - Bolt M10x60
17 - Shim
18 - Bearing Race
19 - Bearing
20 - Idler Gear
21 - Bearing
22 - Bearing Race
23 - Bearing
24 - Nut
25 - Gear
26 - Bearing
27 - Bearing Race
28 - Shim
29 - Case-Left
30 - O-Ring Seal
31 - Oil Seal
32 - Oil Seal
33 - Bearing Race
34 - Bearing
35 - Output Driveshaft
36 - Shim
37 - Bolt
38 - Output Driveshaft Housing
39 - Shim
40 - Output Drivenshaft
41 - Bearing
42 - Bearing Race
43 - Extension Housing
44 - Bolt
45 - Drain Plug
46 - Bearing
47 - Oil Seal
48 - Flange
49 - Nut
50 - Bearing Race
51 - Collapsible Spacer
52 - Fill Plug
53 - Bolt
54 - Vent Tube
55 - Hose and Clamps Assembly
56 - Vent Hose
57 - Vent Hose Bracket
58 - Case Bolt M10x50 - LY7
59 - Case Stud Bold M10x75 - LY7
60 - Case Bolt M8x40