lemon-mirror:
Home >> Pontiac >> 2004 >> Grand AM L4-2.2L VIN F >> Repair and Diagnosis >> Specifications >> Mechanical Specifications >> Engine >> System Specifications >> Thread Repair Specifications

Thread Repair Specifications

Thread Repair Specifications








Engine Block - Front View





Engine Block - Back View





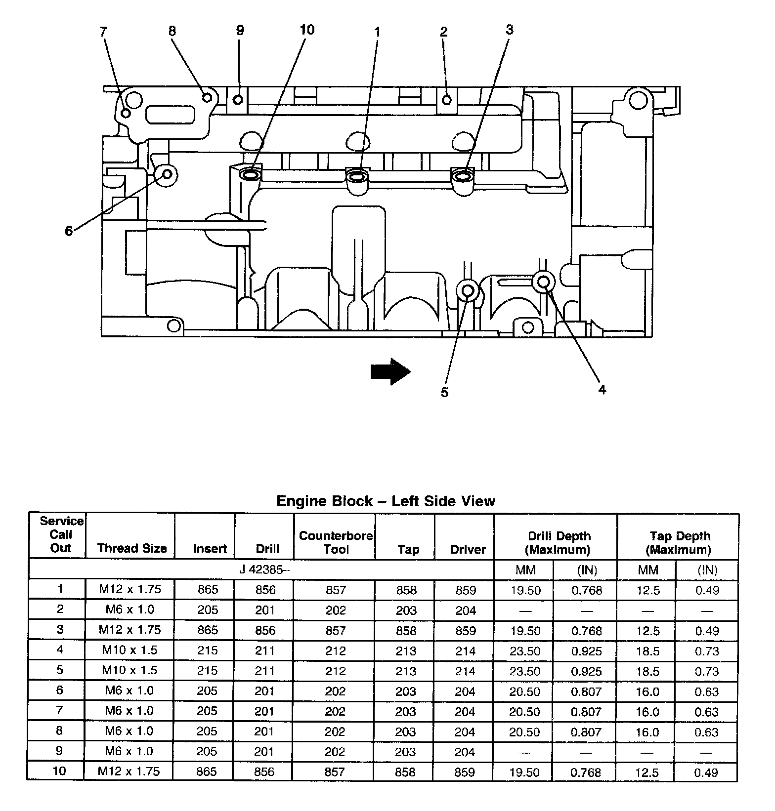
Engine Block - Left Side View








Engine Block - Bottom View





Engine Block - Right Side View





Engine Block - Top View





Lower Crankcase - Front View





Lower Crankcase - Back View





Lower Crankcase - Bottom View





Lower Crankcase - Left View





Lower Crankcase - Right View








Cylinder Head - Top View





Cylinder Head - Intake Manifold Deck View





Cylinder Head - Exhaust Manifold Deck View





Cylinder Head - Front View





Cylinder Head - Back View

Note: 1, 2, 5, 6 holes are oil passages.





Cylinder Head - Bottom View