lemon-mirror:
Home >> Pontiac >> 2004 >> GTO V8-5.7L VIN G >> Repair and Diagnosis >> Specifications >> Mechanical Specifications >> Engine >> System Specifications >> Thread Repair Specifications

Thread Repair Specifications

Thread Repair Specifications

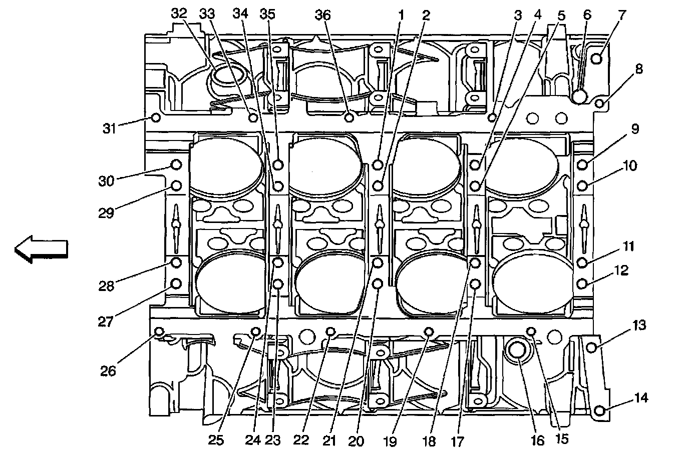
Engine Block








Engine Block- Front View








Engine Block- Rear View











Engine Block- Left Side View











Engine Block - Right Side View











Engine Block-Bottom View








Engine Block - Top View

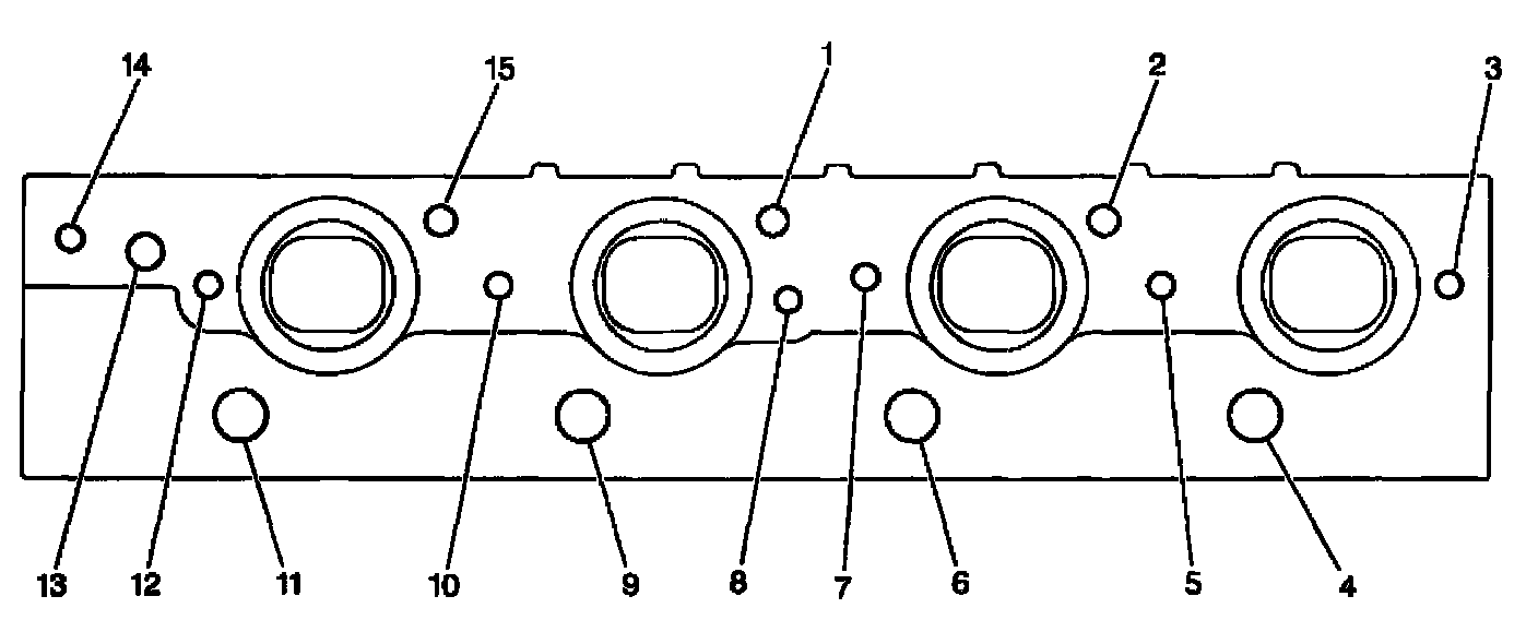
Cylinder Head








Cylinder Head - Top View








Cylinder Head - End View








Cylinder Head - Exhaust Manifold Deck View








Cylinder Head - Intake Manifold Deck View