lemon-mirror:
Home >> Pontiac >> 2004 >> GTO V8-5.7L VIN G >> Repair and Diagnosis >> Powertrain Management >> Computers and Control Systems >> Engine Control Module >> Service and Repair

Engine Control Module: Service and Repair

Repair Instructions

Powertrain Control Module (PCM) Replacement

Powertrain control module (PCM) service should normally consist of either PCM replacement or electrically erasable programmable read only memory (EEPROM) programming. if the diagnostic procedures require PCM replacement, inspect the PCM first to see if the correct part is being used.

Important: In order to prevent internal PCM damage the ignition must be OFF when you disconnect or reconnect the power to the PCM. For example, disconnect the power when you work with the following components:

- A battery cable

- The PCM pigtail

- The PCM fuse

- Jumper cables

Important: When you diagnose or replace the PCM, remove any debris from the PCM connector surfaces before servicing the PCM module connector gaskets. Ensure that the gaskets are installed correctly. The gaskets prevent contamination intrusion into the PCM.

Important: The replacement PCM MUST be programmed.














Removal Procedure

1. Disconnect the negative battery cable.

2. Disconnect the engine coolant surge tank.

3. Remove the air cleaner assembly.

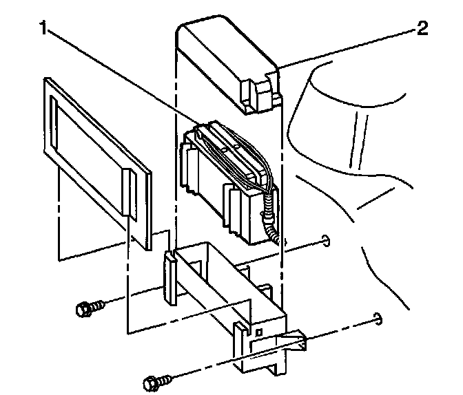
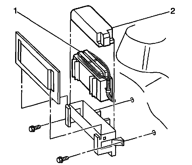
4. Remove PCM harness connector cover (1).

5. Loosen the connector retaining screws at each PCM connector (2), then remove connectors from the PCM.



6. Remove the PCM (1) from the mounting bracket by levering back the bracket retainers at each end, while lifting up the PCM.



Installation Procedure

Notice: Do not touch the connector pins or soldered components on the circuit board in order to prevent possible electrostatic discharge (ESD) damage to the PCM.

Notice: In order to prevent internal damage to the PCM, the ignition must be OFF when disconnecting or reconnecting the PCM connector.

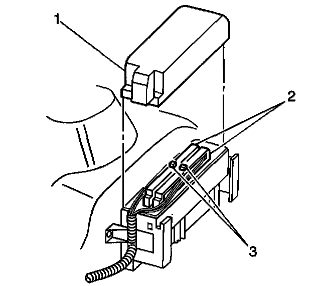
1. Install the PCM (1) to the mounting bracket.






Notice: Refer to Fastener Notice in Cautions and Notices.

2. Connect the PCM connectors (2).

Tighten the PCM connector end fasteners to 9 N.m (80 lb in).

3. Install the air cleaner assembly. Refer to Air Cleaner Assembly Replacement.

4. Connect the engine coolant surge tank.

5. Connect the negative battery cable. .

6. If you install a new PCM, program the PCM. Refer to Service Programming System (SPS) in Programming.

7. When ever the PCM or the negative battery cables have been disconnected, the Idle Learn procedure must be performed. Refer to Idle Learn Procedure, and the Crankshaft Variation procedure must be performed. Refer to CKP System Variation Learn Procedure.Testing and Inspection