lemon-mirror:
Home >> Pontiac >> 2004 >> GTO V8-5.7L VIN G >> Repair and Diagnosis >> Maintenance >> Alignment >> Service and Repair >> Rear Wheel Alignment

Rear Wheel Alignment

Rear Toe Adjustment





1. Measure the wheel alignment. Refer to Measuring Wheel Alignment.

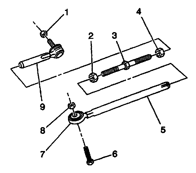
Important: The following components have left-hand threads:
^ The inner adjustment link (5)
^ The inner lock nut (2)
^ The corresponding end of the adjuster (3)

2. Loosen the 2 lock nuts (2, 4) on the rear adjustment link assembly.
3. Rotate the center adjuster in order to adjust the rear toe to the specification. Refer to Wheel Alignment Specifications. Wheel Alignment Specifications Increasing the length of the adjustment link assembly will increase the rear wheel toe.
4. Use a wrench on the hexagonal crimped section of the outer adjustment link (9) in order to hold the position of the ball joint.

Notice: Refer to Fastener Notice in Service Precautions.

5. Tighten the 2 lock nuts.
^ Tighten the 2 lock nuts to 50 Nm (37 ft. lbs.).