lemon-mirror:
Home >> Pontiac >> 2004 >> Aztek FWD V6-3.4L VIN E >> Repair and Diagnosis >> Maintenance >> Alignment >> Service and Repair >> Rear Wheel Alignment

Rear Wheel Alignment

REAR WHEEL ALIGNMENT

Rear Camber Adjustment (AWD)

Removal Procedure
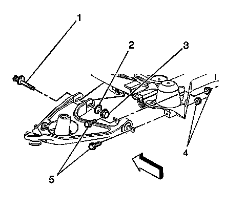
1. Place vehicle on alignment machine with rear wheels supported by Weaver plates.





2. Loosen rear lower control arm mounting nuts (3, 4).
3. Adjust camber with cam bolt (1).
4. Confirm correct camber value.
5. Check toe alignment and adjust if required.

Installation Procedure






1. Notice: Refer to Fastener Notice in Service Precautions.

Tighten the lower control arm mounting nuts (3, 4).
Tighten the nut (3) 125 Nm (107 ft. lbs.); tighten (4) to 50 Nm (37 ft. lbs.).
2. Test drive the vehicle.

Rear Toe Adjustment






1. Important: Make any adjustments to camber before setting toe.

Loosen the jam nut (6) at the rear wheel tie rod.
2. Adjust the toe to the proper setting by turning the inner link adjustment hex (4).

3. Notice: Refer to Fastener Notice in Service Precautions.

When the toe adjustment is correct, tighten the jam nut.
Tighten the nut to 62 Nm (45 ft. lbs.).
4. Recheck the toe alignment.