lemon-mirror:
Home >> Pontiac >> 2003 >> Aztek V6-3.4L VIN E >> Repair and Diagnosis >> Powertrain Management >> Computers and Control Systems >> Throttle Position Sensor >> Service and Repair

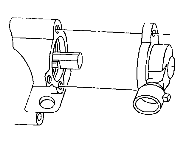
Throttle Position Sensor: Service and Repair

REMOVAL PROCEDURE




1. Turn OFF the ignition.
2. Remove the air intake duct.




3. Disconnect the evaporative emission (EVAP) purge line.
4. Disconnect the fuel lines.
5. Disconnect the throttle position (TP) sensor electrical connector.




6. Remove the 2 TP sensor fasteners.




7. Remove the TP sensor and O-ring.

INSTALLATION PROCEDURE




1. Install the TP sensor O-ring on the TP sensor.




2. Install the TP sensor on the throttle body assembly.




3. Install the 2 TP sensor fasteners, using a thread-locking compound on the screws. Loctite(R) 262, GM P/N #1052624, or equivalent should be used.

NOTE: Refer to Fastener Notice in Service Precautions.

Tighten
Tighten the TP sensor attaching screws to 2.0 N.m (18 lb in).




4. Connect the TP sensor electrical connector.
5. Connect the EVAP purge line.
6. Connect the fuel lines.




7. Install the air intake duct.