lemon-mirror:
Home >> Pontiac >> 2002 >> Grand AM L4-2.2L VIN F >> Repair and Diagnosis >> Specifications >> Mechanical Specifications >> Engine >> Cylinder Head Assembly >> System Specifications >> Thread Repair Specifications >> Engine Block-Left Side View

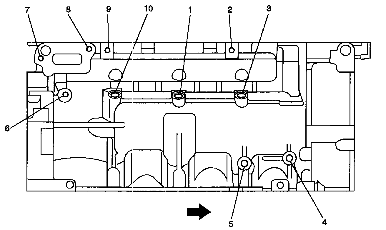
Engine Block-Left Side View

Engine Block-Left Side View





Part 1 of 2





Part 2 of 2