lemon-mirror:
Home >> Pontiac >> 2001 >> Aztek V6-3.4L VIN E >> Repair and Diagnosis >> Diagrams >> Exploded Views >> Transfer Case >> Transfer Case Assembly

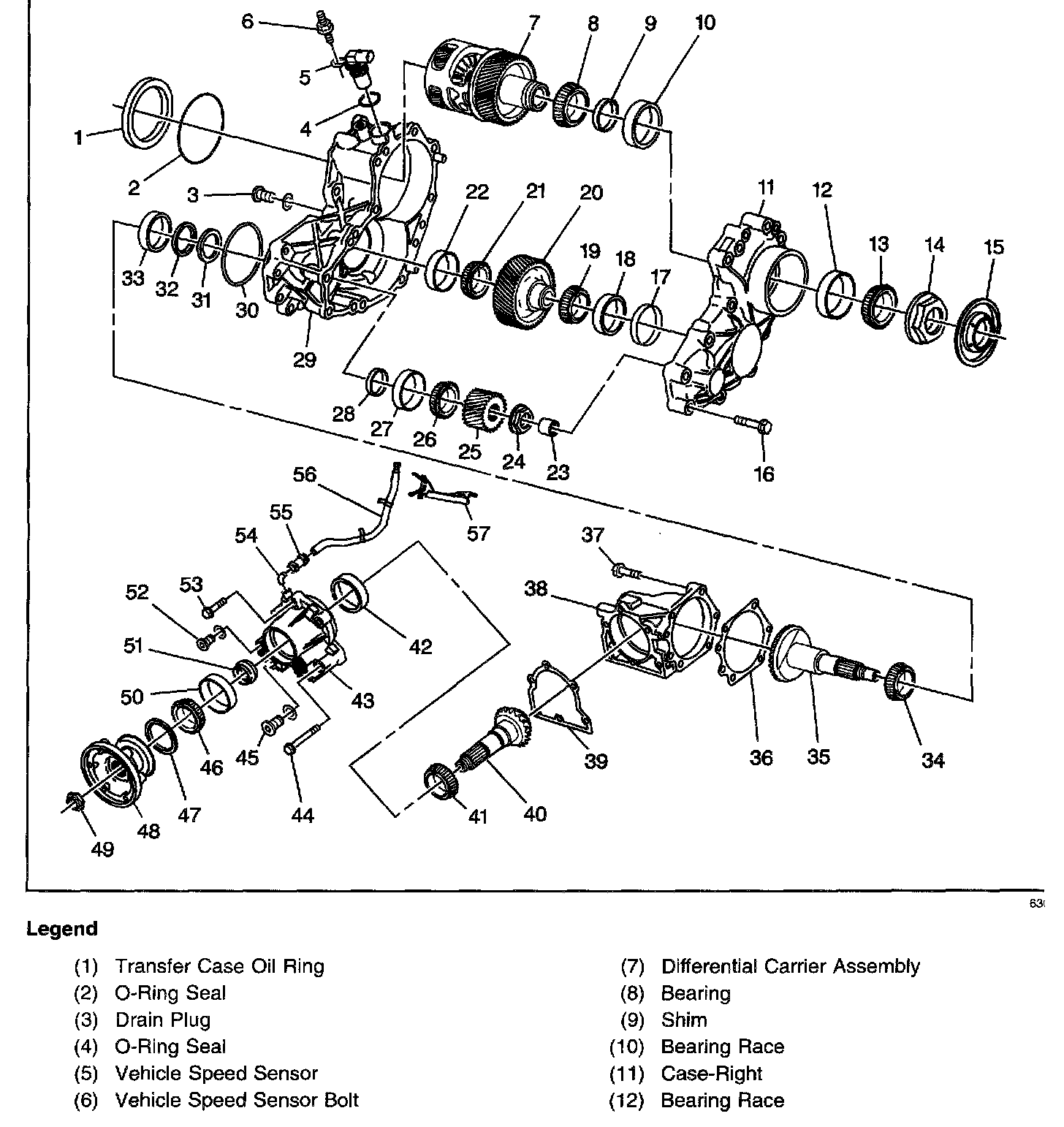
Transfer Case Assembly





Part 1 of 2





Part 2 of 2

Transfer Case Assembly